| Обозначение: |    ГОСТ 12856-84 | 
| Статус: | заменён | 
| Название рус.: | Листы асбостальные. Технические условия | 
| Название англ.: | Asbestos-steel sheets. Specifications | 
| Дата актуализации текста: | 06.04.2015 | 
| Дата актуализации описания: | 01.01.2021 | 
| Дата издания: | 18.02.1985 | 
| Дата введения: | 01.01.1986 | 
| Дата окончания срока действия: | 01.01.1998 | 
| Код ОКП: | 257710 | 
| Взамен: |  ГОСТ 12856-75 | 
| Заменяющий: |  ГОСТ 12856-96 | 
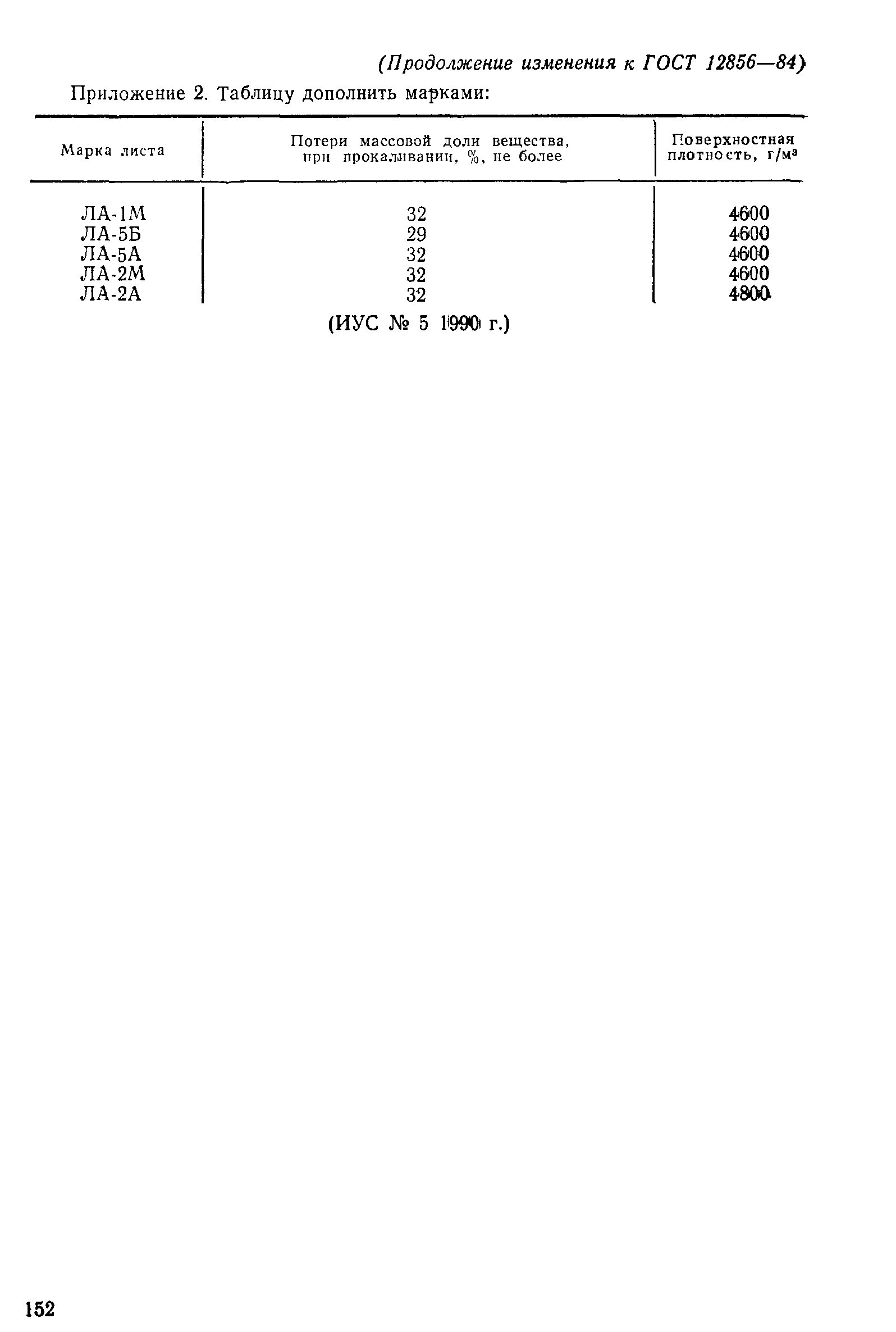
| Список изменений: | №1 от 01.07.1988 (рег. 27.03.1988) «Срок действия продлен» №2 от 01.07.1990 (рег. 15.02.1990) «Срок действия продлен» | 
 | 
| Расположен в: | 
  |