| Обозначение: |  ГОСТ 12359-81 |
| Статус: | заменён |
| Название рус.: | Стали углеродистые, легированные и высоколегированные. Методы определения азота |
| Название англ.: | Steels carbon, alloyed and highalloyed. Methods for the determination of nitrogen |
| Дата актуализации текста: | 06.04.2015 |
| Дата актуализации описания: | 01.07.2023 |
| Дата издания: | 01.01.1982 |
| Дата введения: | 01.12.1981 |
| Дата окончания срока действия: | 01.07.2000 |
| Код ОКП: | 087010 |
| Взамен: | ГОСТ 12359-66; ГОСТ 20813-75 |
| Заменяющий: | ГОСТ 12359-99 |
| Содержит требования: | СТ СЭВ 1239-78 |
| Нормативные ссылки: | ГОСТ 20560-81; ГОСТ 18300-72; ГОСТ 3769-78; ГОСТ 4145-74; ГОСТ 4328-77; ГОСТ 4165-78; ГОСТ 14261-77; ГОСТ 3640-79; ГОСТ 14262-78; ГОСТ 9285-78 ; ГОСТ 4463-76; ГОСТ 4232-74; ГОСТ 20490-75; ГОСТ 8677-76; ГОСТ 83-79 |
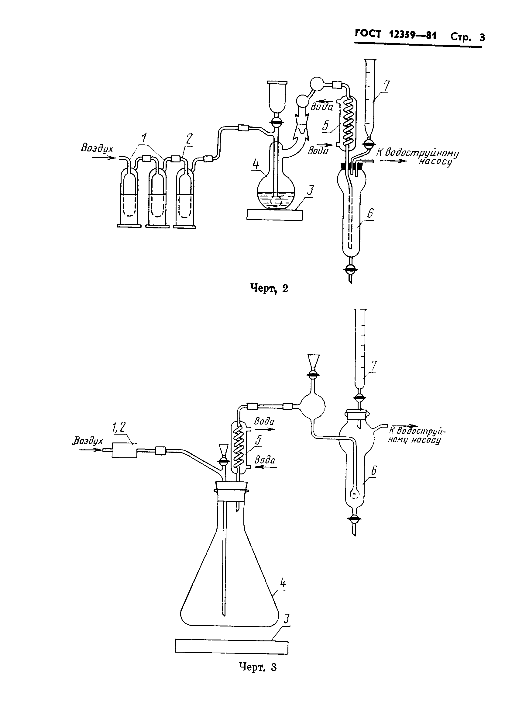
| Область применения: | Настоящий стандарт устанавливает фотометрический метод определения азота (при массовой доле азота от 0,002 до 0,02 %), титриметрический метод определения азота (при массовой доле азота от 0,005 до 0,50 %) и метод восстановительного плавления (при массовой доле азота от 0,002 до 0,50 %) в углеродистых, легированных и высоколегированных сталях |
|
| Расположен в: |
|