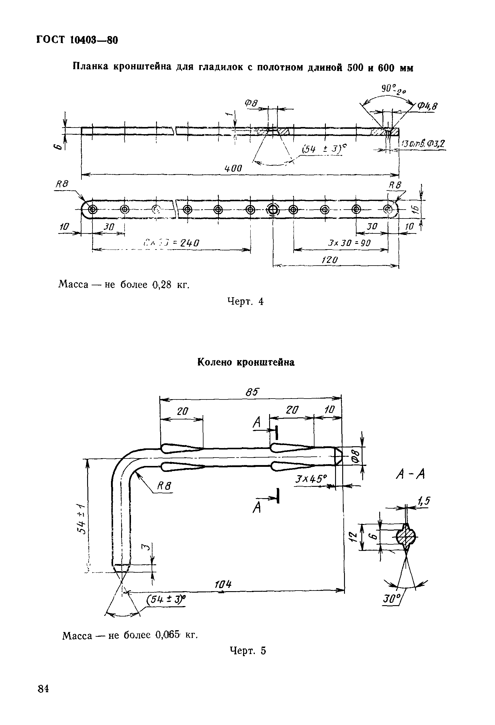
| ||||||||||||||||||||||||||||||||
Скачать ГОСТ 10403-80 Гладилки стальные строительные. Технические условияДата актуализации: 01.06.2025
| ||||||||||||||||||||||||||||||||
| Обозначение: | ![]() ГОСТ 10403-80 |
| Статус: | не действует в РФ |
| Название рус.: | Гладилки стальные строительные. Технические условия |
| Название англ.: | Consctructional steel trowels. Technical requirements |
| Дата актуализации текста: | 06.04.2015 |
| Дата актуализации описания: | 01.07.2023 |
| Дата издания: | 16.02.1994 |
| Дата введения: | 01.01.1982 |
| Дата окончания срока действия: | 01.07.1995 |
| Код ОКП: | 483320 |
| Взамен: | ГОСТ 10403-73 |
| Список изменений: | №0 от 01.07.1995 (рег. 07.04.1995) «Поправка к изменению» |
| Расположен в: | |

















