| Обозначение: |  ГОСТ 10181.1-81 |
| Статус: | заменён |
| Название рус.: | Смеси бетонные. Методы определения удобоукладываемости |
| Название англ.: | Concrete mixture. Test method of determination of workability |
| Дата актуализации текста: | 06.04.2015 |
| Дата актуализации описания: | 01.07.2023 |
| Дата издания: | 01.05.1997 |
| Дата введения: | 01.01.1982 |
| Дата окончания срока действия: | 01.07.2001 |
| Код ОКП: | 574500 |
| Заменяющий: | ГОСТ 10181-2000 |
| Нормативные ссылки: | ГОСТ 10181.0-81; ГОСТ 427-75; ГОСТ 9533-71; ГОСТ 2789-73 |
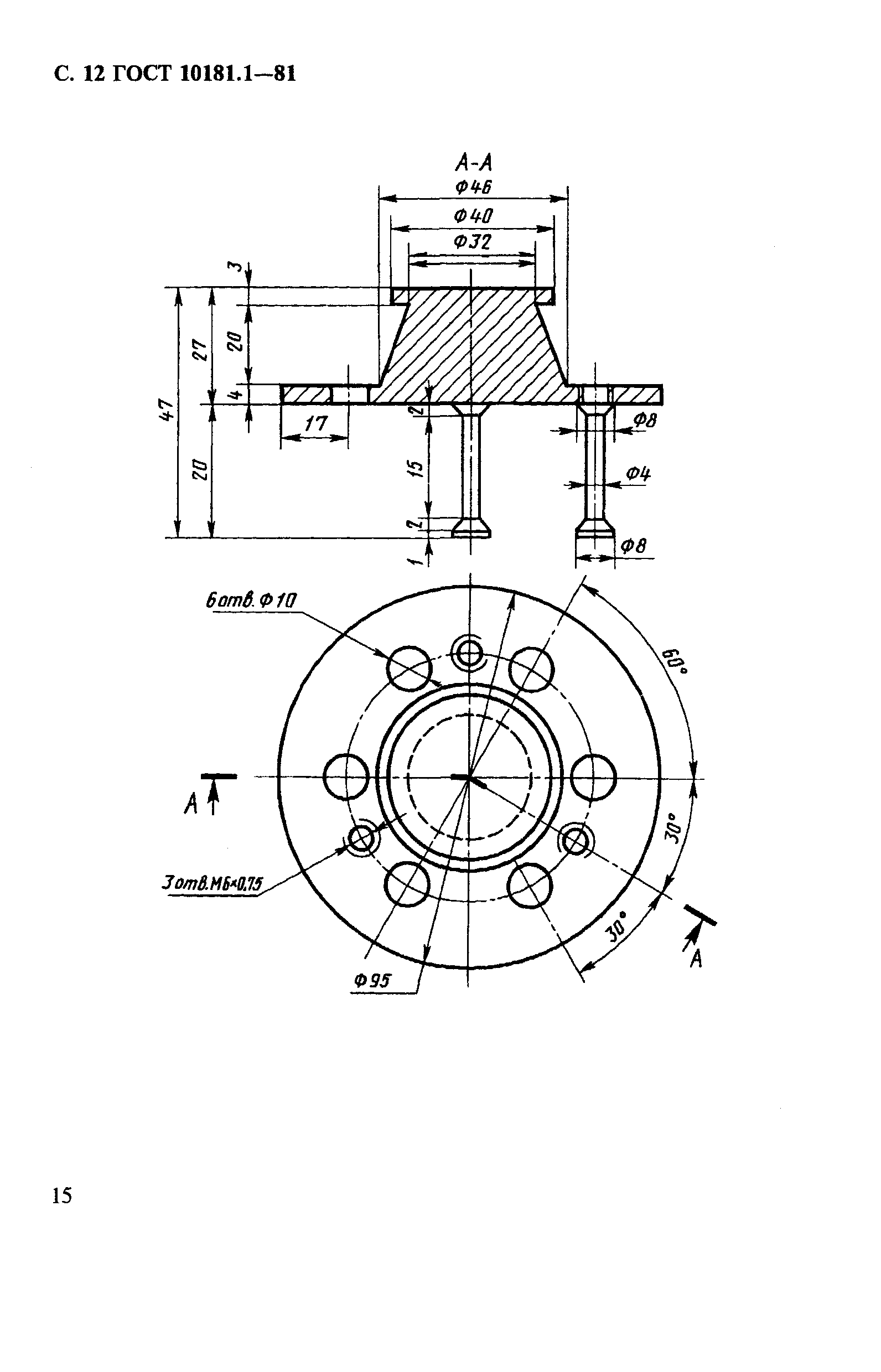
| Область применения: | Настоящий стандарт распространяется на бетонные смеси, приготовленные на минеральных вяжущих, плотных и пористых заполнителях, и устанавливает методы определения их удобоукладываемости по показателям подвижности и жесткости |
|
| Расположен в: |
|