| Обозначение: |  ГОСТ Р 52797.2-2007 |
| Статус: | действующий |
| Название рус.: | Акустика. Рекомендуемые методы проектирования малошумных рабочих мест производственных помещений. Часть 2. Меры и средства защиты от шума |
| Название англ.: | Acoustics. Recommended practice for the design of low-noise workplaces containing machinery. Part 2. Noise control measures |
| Дата актуализации текста: | 06.04.2015 |
| Дата актуализации описания: | 01.07.2023 |
| Дата издания: | 16.04.2008 |
| Дата введения: | 01.07.2008 |
| Содержит требования: | ISO 11690-2:1996 |
| Нормативные ссылки: | ГОСТ Р 52797.1-2007; ГОСТ Р 52797.3-2007; ГОСТ Р 52799-2007; ГОСТ 27296-87; ГОСТ 30457-97; ГОСТ 30690-2000; ГОСТ 30691-2001; ГОСТ 31171-2003; ГОСТ 31252-2004; ГОСТ 31298.1-2005; ГОСТ 31298.2-2005; ГОСТ 31299-2005; ГОСТ 31324-2006 |
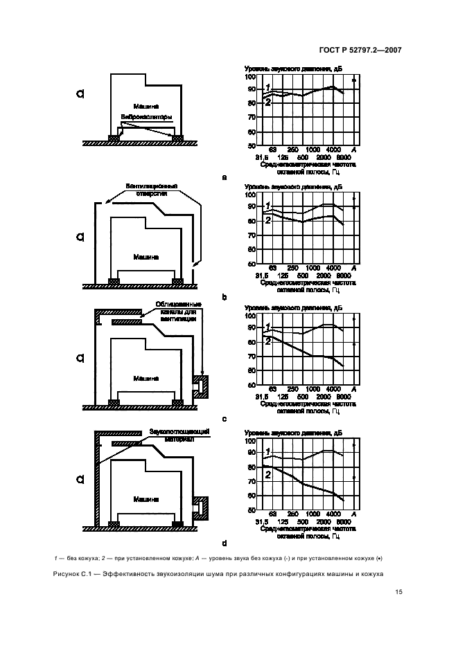
| Область применения: | Настоящий стандарт устанавливает технические меры защиты шума на рабочих местах. В стандарте рассмотрены различные виды средств и мер защиты, акустические величины для оценки и контроля эффективности этих средств, приведены типичные значения характеристик снижения шума. Настоящий стандарт относится к слышимому звуку |
|
| Расположен в: |
|