| Обозначение: |  ГОСТ Р 52785-2007 |
| Статус: | действующий |
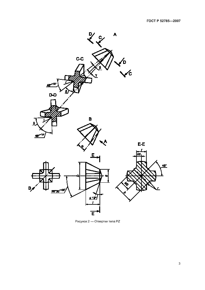
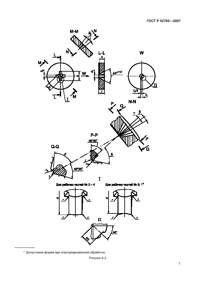
| Название рус.: | Отвертки слесарно-монтажные для винтов и шурупов с крестообразным шлицем. Рабочая часть. Размеры |
| Название англ.: | Screwdrivers for fitting and assеmbling for recessed screws and wood screws. Working part. Dimensions |
| Дата актуализации текста: | 01.01.2021 |
| Дата актуализации описания: | 01.01.2021 |
| Дата издания: | 29.09.2020 |
| Дата введения: | 01.01.2009 |
| Код ОКП: | 392660 |
| Содержит требования: | ISO 8764-1:2004 |
| Нормативные ссылки: | ГОСТ 10753 |
| Область применения: | Настоящий стандарт распространяется на слесарно-монтажные отвертки для винтов и шурупов с крестообразным шлицем и устанавливает размеры их рабочей части |
| Список изменений: | №0 от 28.04.2009 (рег. 28.04.2009) «Дата введения перенесена» |
| Приложение №1: | Поправка к ГОСТ Р 52785-2007 |
|
| Расположен в: |
|