| Обозначение: |  ГОСТ 9932-75 |
| Статус: | действующий |
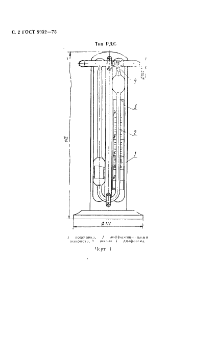
| Название рус.: | Реометры стеклянные лабораторные. Технические условия |
| Название англ.: | Laboratory glass flowmeters. Specifications |
| Дата актуализации текста: | 06.04.2015 |
| Дата актуализации описания: | 01.01.2021 |
| Дата издания: | 01.07.1994 |
| Дата введения: | 01.01.1977 |
| Код ОКП: | 432116 |
| Взамен: | ГОСТ 9932-61 |
| Область применения: | Настоящий стандарт распространяется на реометры, предназначенные для измерения расхода газов в лабораторных условиях, изготовленные для нужд народного хозяйства и экспорта |
| Список изменений: | №1 от 01.01.1980 (рег. 08.08.1979) «Срок действия продлен» №2 от 01.07.1981 (рег. 31.03.1981) «Срок действия продлен» №3 от 01.01.1987 (рег. 12.08.1986) «Срок действия продлен» №4 от 01.08.1990 (рег. 05.01.1990) «Срок действия продлен» |
|
| Расположен в: |
|