| Обозначение: |  ГОСТ 12194-66 |
| Статус: | действующий |
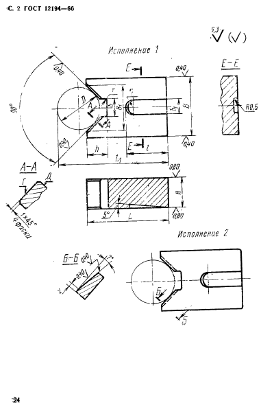
| Название рус.: | Приспособления станочные. Призмы установочные. Конструкция |
| Название англ.: | Holding devices. Adjusting prisms. Design |
| Дата актуализации текста: | 06.04.2015 |
| Дата актуализации описания: | 01.07.2023 |
| Дата издания: | 01.07.1990 |
| Дата введения: | 01.07.1967 |
| Код ОКП: | 396100 |
| Взамен: | МН 343-60 |
| Нормативные ссылки: | ГОСТ 4543-71; ГОСТ 8908-58; ГОСТ 9.073-77 |
| Область применения: | Настоящий стандарт распространяется на конструкцию и размеры установочных призм |
| Список изменений: | №1 от 01.12.1980 (рег. 29.06.1980) «Срок действия продлен» №2 от 01.01.1989 (рег. 17.03.1988) «Поправка» |
|
| Расположен в: |
|