| Обозначение: |  ГОСТ 13161-67 |
| Статус: | действующий |
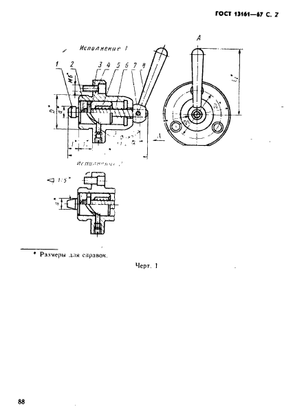
| Название рус.: | Фиксаторы байонетные для станочных приспособлений. Конструкция |
| Название англ.: | Bayonet type indexes for machine retaining devices. Design and dimensions |
| Дата актуализации текста: | 06.04.2015 |
| Дата актуализации описания: | 01.07.2023 |
| Дата издания: | 01.05.1990 |
| Дата введения: | 01.07.1968 |
| Код ОКП: | 396100 |
| Взамен: | МН 354-60 |
| Нормативные ссылки: | ГОСТ 11738-72; ГОСТ 3128-70; ГОСТ 13165-67; ГОСТ 3055-69; ГОСТ 1478-75; ГОСТ 4543-71; ГОСТ 8593-57; ГОСТ 8908-58; ГОСТ 10356-63; ГОСТ 8820-69; ГОСТ 9.073-77; ГОСТ 1050-74; ГОСТ 10549-63;СТ СЭВ 182-75 |
| Область применения: | Настоящий стандарт распространяется на байонетные фиксаторы, предназначенные для применения в делительных приспособлениях |
| Список изменений: | №1 от 01.12.1980 (рег. 29.06.1980) «Срок действия продлен» №2 от 01.01.1989 (рег. 17.03.1988) «Поправка» |
|
| Расположен в: |
|