| Обозначение: |  ГОСТ 8646-68 |
| Статус: | действующий |
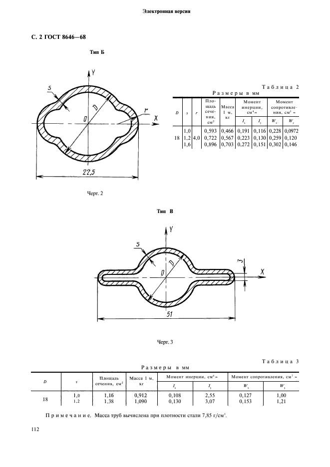
| Название рус.: | Трубы стальные с полыми ребрами. Сортамент |
| Название англ.: | Empty-ribbed steel tubes. Range of sizes |
| Дата актуализации текста: | 06.04.2015 |
| Дата актуализации описания: | 01.07.2023 |
| Дата издания: | 01.03.2001 |
| Дата введения: | 01.01.1969 |
| Код ОКП: | 134400;135100 |
| Взамен: | ГОСТ 8646-57 |
| Нормативные ссылки: | ГОСТ 8639-82; ГОСТ 13663-86 |
| Область применения: | Настоящий стандарт распространяется на стальные бесшовные холоднотянутые трубы с полыми ребрами |
| Список изменений: | №1 от 01.02.1987 (рег. 12.08.1986) «Срок действия продлен» |
|
| Расположен в: |
|