| Обозначение: |    ГОСТ 7275-75 | 
| Статус: | не действует в РФ | 
| Название рус.: | Ключи гаечные разводные. Технические условия | 
| Название англ.: | Adjustable wrenches. Specifications | 
| Дата актуализации текста: | 06.04.2015 | 
| Дата актуализации описания: | 01.07.2023 | 
| Дата издания: | 01.10.2001 | 
| Дата введения: | 01.01.1978 | 
| Дата окончания срока действия: | 01.01.2013 | 
| Код ОКП: | 392651 | 
| Взамен: |  ГОСТ 7275-62 | 
| На территории РФ пользоваться: |  ГОСТ Р 54488-2011 | 
| Нормативные ссылки: | ISO 6787:1982; ГОСТ 4543-71; ГОСТ 1050-74; ГОСТ 2789-73; ГОСТ 8479-70; ГОСТ 14007-68; ГОСТ 9791-68; ГОСТ 3002-70; ГОСТ 16875-71; ГОСТ 9013-59; ГОСТ 16295-70; ГОСТ 2838-71 | 
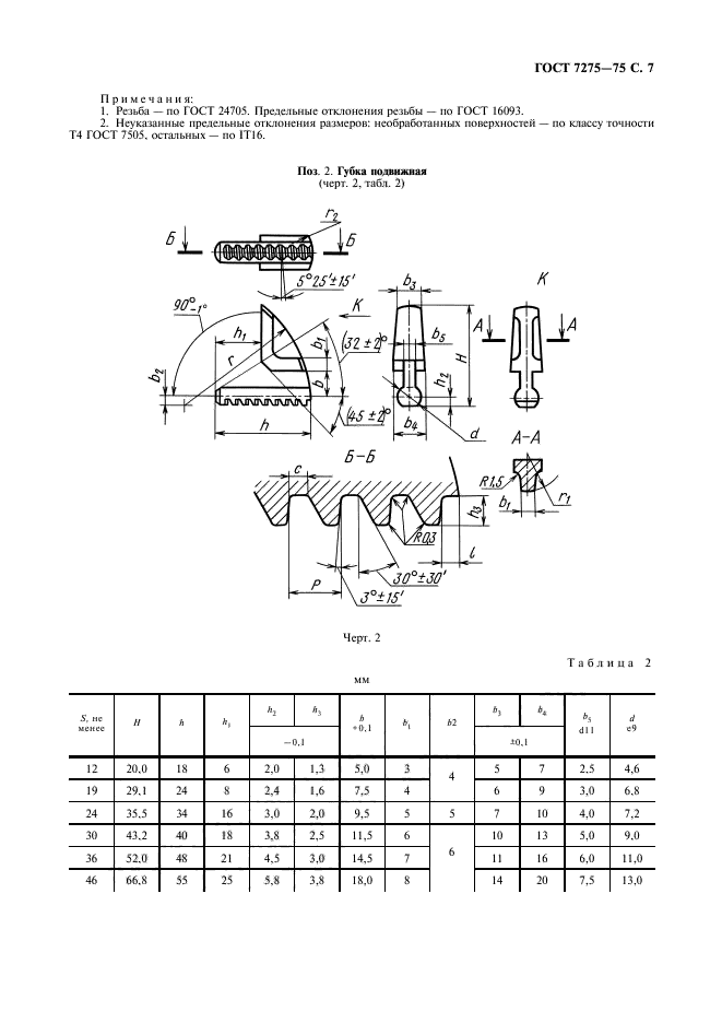
| Область применения: | Настоящий стандарт распространяется на разводные ключи, изготовляемые для нужд народного хозяйства и экспорта | 
| Список изменений: | №0 от 01.01.2013 (рег. 09.11.2011) «Поправка к изменению» №1 от 01.09.1987 (рег. 24.03.1987) «Поправка» №2 от 01.10.1989 (рег. 26.03.1989) «Срок действия продлен» | 
 | 
| Расположен в: | 
  |