| Обозначение: |  ГОСТ 21174-75 |
| Статус: | действующий |
| Название рус.: | Шпалы железобетонные предварительно напряженные для трамвайных путей широкой колеи |
| Название англ.: | Prestressed reinforced concrete sleepers for the wide-gauge tramways |
| Дата актуализации текста: | 06.04.2015 |
| Дата актуализации описания: | 01.01.2025 |
| Дата издания: | 01.01.1987 |
| Дата введения: | 01.07.1976 |
| Дата окончания срока действия: | 01.06.2025 |
| Код ОКП: | 586410 |
| Заменяющий: | ГОСТ 21174-2024 |
| Нормативные ссылки: | ГОСТ 166-80; ГОСТ 7502-80; ГОСТ 10060-76; ГОСТ 10178-85; ГОСТ 10180-78; ГОСТ 10268-80; ГОСТ 16017-79; ГОСТ 16018-79; ГОСТ 18105-86 |
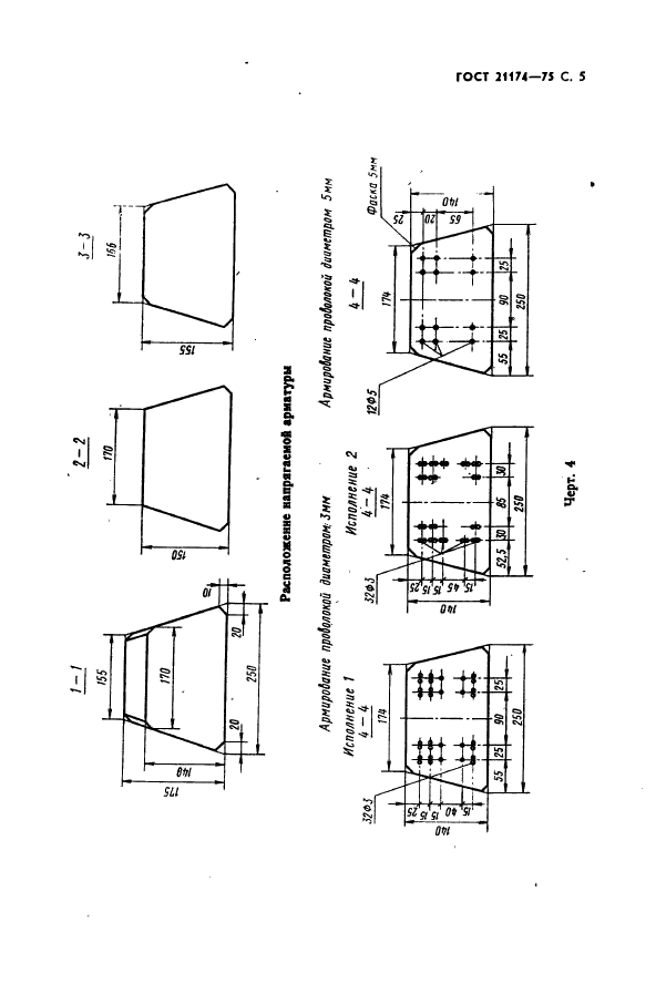
| Область применения: | Настоящий стандарт распространяется на брусковые железобетонные предварительно напряженные шпалы, применяемые в прямых и кривых участках трамвайных путей широкой колеи бесстыковых и со стыками, с дорожным покрытием и без него |
|
| Расположен в: |
|