| Обозначение: |    ГОСТ 11056-77 | 
| Статус: | действующий | 
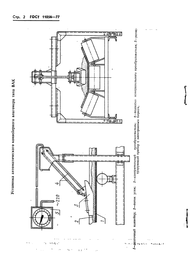
| Название рус.: | Угли каменные. Электрический метод определения массовой доли влаги | 
| Название англ.: | Hard coals. Electric method for the determination of mass fraction of moisture | 
| Дата актуализации текста: | 06.04.2015 | 
| Дата актуализации описания: | 01.07.2023 | 
| Дата издания: | 09.06.1977 | 
| Дата введения: | 01.01.1979 | 
| Код ОКП: | 032031 | 
| Взамен: |  ГОСТ 11056-67 | 
| Нормативные ссылки: |  ГОСТ 10742-71; ГОСТ 11014-70 | 
| Область применения: | Настоящий стандарт распространяется на каменные угли и устанавливает электрический метод определения массовой доли рабочей влаги в пределах от 3 до 30% в потоке угля крупностью не более 13 мм для предварительного и технологического контроля | 
| Список изменений: | №0 от 18.05.1988 (рег. 17.05.1988) «Срок действия продлен» | 
 | 
| Расположен в: | 
  |