| Обозначение: |    ГОСТ 5717.2-2003 | 
| Статус: | действующий | 
| Название рус.: | Банки стеклянные для консервов. Основные параметры и размеры | 
| Название англ.: | Glass jars canned food. Basic parameters and dimensions | 
| Дата актуализации текста: | 06.04.2015 | 
| Дата актуализации описания: | 01.07.2023 | 
| Дата регистрации: | 22.05.2003 | 
| Дата издания: | 01.11.2006 | 
| Дата введения: | 01.07.2004 | 
| Код ОКП: | 598610 | 
| Взамен в части: |  ГОСТ 5717-91 в части разд. 1 | 
| Нормативные ссылки: | ISO 9100:1992; ГОСТ 5717.1-2003; ГОСТ 17527-2003 | 
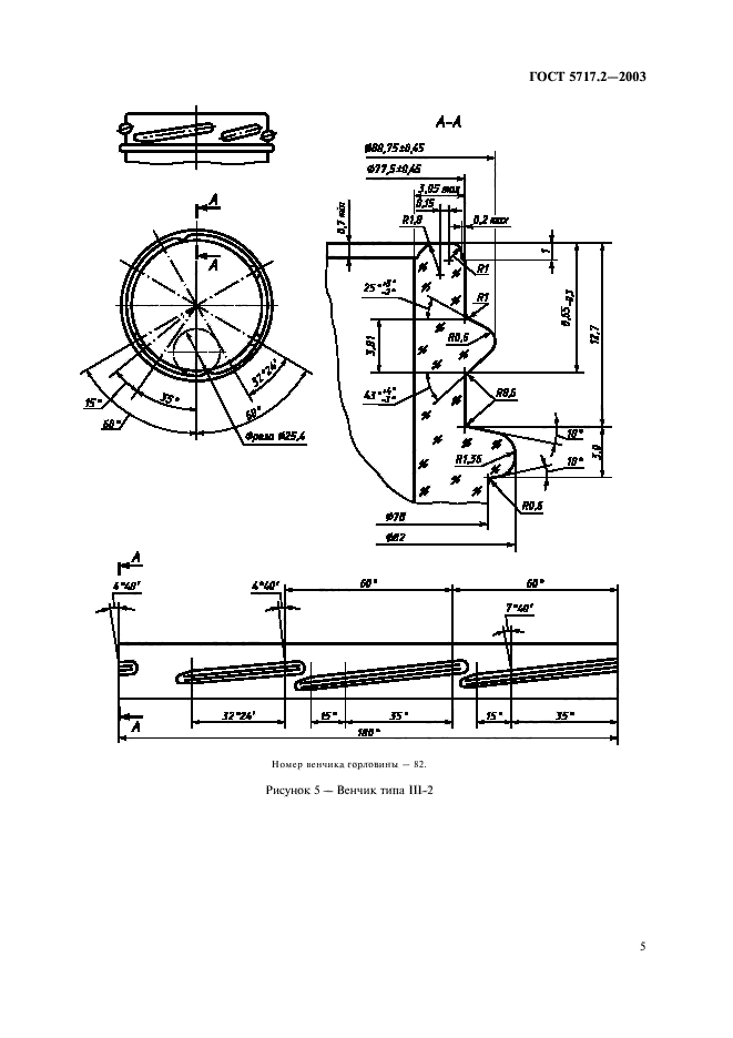
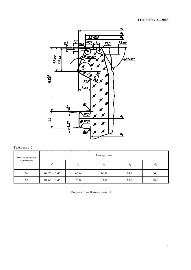
| Область применения: | Настоящий стандарт распространяется на стеклянные банки круглой формы для консервов и устанавливает их основные параметры и размеры | 
 | 
| Расположен в: | 
  |