| Обозначение: |  ГОСТ Р 52535.3-2006 |
| Статус: | заменён |
| Название рус.: | Карты идентификационные. Машиносчитываемые дорожные документы. Часть 3. Официальные машиносчитываемые проездные документы |
| Название англ.: | Identification cards. Machine readable travel documents. Part 3. Machine readable official travel documents |
| Дата актуализации текста: | 06.04.2015 |
| Дата актуализации описания: | 01.07.2023 |
| Дата издания: | 02.08.2006 |
| Дата введения: | 01.01.2007 |
| Дата окончания срока действия: | 01.07.2015 |
| Код ОКП: | 408470 |
| Заменяющий: | ГОСТ Р ИСО/МЭК 7501-3-2013 |
| Нормативные ссылки: | ISO/IEC 7501-3:1997; ГОСТ Р ИСО/МЭК 7810-2002; ГОСТ Р ИСО/МЭК 14443-1-2004; ГОСТ Р 52535.1-2006; ГОСТ ИСО 8601-2001; ГОСТ 16330-85; ГОСТ 28540-90; ГОСТ 29107-91;ICAO Doc 9303-3 |
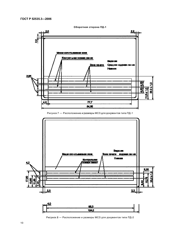
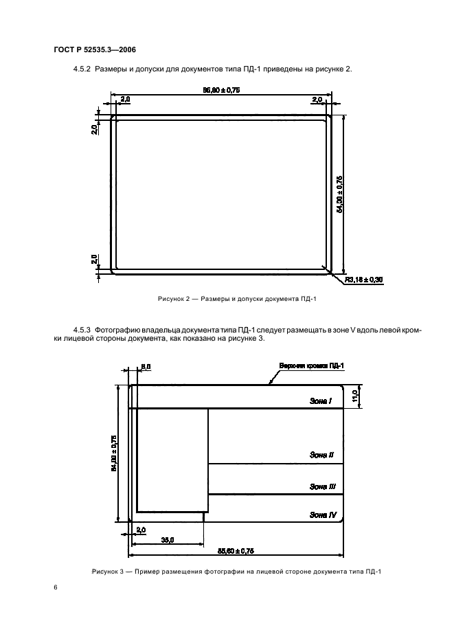
| Область применения: | Настоящий стандарт распространяется на официальные машиносчитываемые проездные (дорожные) документы, которые предназначены удостоверять личность граждан, чья профессиональная деятельность сопряжена с многократным пересечением границ иностранных государств и Российской Федерации и устанавливает общие требования к официальным проездным документам. Требования настоящего стандарта соответствуют требованиям и рекомендациям Международной организации гражданской авиации (ИКАО) Doc 9303, часть 3, принятого в качестве международного стандарта, обеспечивающим идентификацию личности владельца документа при пересечении им границы любого государства, располагающего соответствующими средствами визуального контроля и автоматизированными унифицированными системами для машинного считывания данных с документа в соответствии с указанным международным стандартом |
|
| Расположен в: |
|