| Обозначение: |  ГОСТ Р 52503-2005 |
| Статус: | действующий |
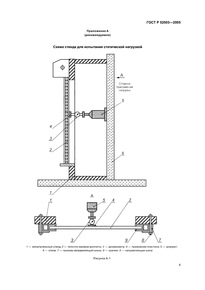
| Название рус.: | Жалюзи-роллеты. Методы испытаний на устойчивость к взлому и пулестойкость |
| Название англ.: | Venetian blinds-rollets. Methods of testing for resistance to burglary and bullet-proofing |
| Дата актуализации текста: | 06.04.2015 |
| Дата актуализации описания: | 01.07.2023 |
| Дата издания: | 01.03.2008 |
| Дата введения: | 01.09.2006 |
| Код ОКП: | 969315 |
| Нормативные ссылки: | ГОСТ Р 1.12-2004; ГОСТ Р 50862-2005; ГОСТ Р 51110-97; ГОСТ Р 51112-97; ГОСТ Р 51113-97; ГОСТ Р 51221-98; ГОСТ Р 51222-98; ГОСТ Р 52502-2005; ГОСТ 16504-81 |
| Область применения: | Настоящий стандарт распространяется на вновь разрабатываемые и модернизируемые защитные жалюзи-роллеты по ГОСТ Р 52502. Настоящий стандарт не распространяется на защитные жалюзи по ГОСТ Р 51222; конструкции: противопожарные; ограждений открытых территорий; предназначенные для объектов военного и (или) оборонного значения, а также для специальных промышленных производств |
|
| Расположен в: |
|