| Обозначение: |  ГОСТ 3889-80 |
| Статус: | действующий |
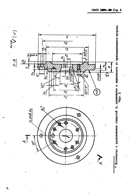
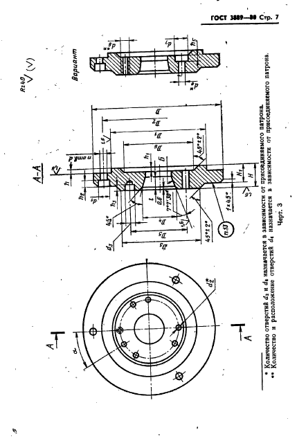
| Название рус.: | Фланцы промежуточные к самоцентрирующим патронам. Конструкция и размеры |
| Название англ.: | Intermediate flanges for self-centering chucks. Design and dimensions |
| Дата актуализации текста: | 06.04.2015 |
| Дата актуализации описания: | 01.07.2023 |
| Дата издания: | 01.04.1982 |
| Дата введения: | 01.01.1981 |
| Код ОКП: | 396120;392810 |
| Взамен: | ГОСТ 3889-71 |
| Нормативные ссылки: | ГОСТ 12593-72; ГОСТ 12595-72; ГОСТ 16868-71; ГОСТ 16093-81; ГОСТ 4082-69;СТ СЭВ 1575-79 |
| Область применения: | Настоящий стандарт распространяется на промежуточные фланцы, предназначенные для установки на концы шпинделей металлорежущих станков самоцентрирующих патронов общего назначения |
| Список изменений: | №1 от 01.07.1982 (рег. 11.05.1982) «Срок действия продлен» №2 от 01.01.1988 (рег. 16.08.1987) «Срок действия продлен» |
|
| Расположен в: |
|