| Обозначение: |    ГОСТ 13218.4-80 | 
| Статус: | действующий | 
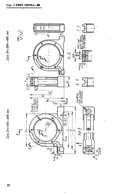
| Название рус.: | Корпуса типа УМ подшипников качения диаметром от 160 до 400 мм. Конструкция и размеры | 
| Название англ.: | Pillow blocks blocks of serie УМ for rolling bearings of diameters from 160 till 400 mm. Constuction and dimensions | 
| Дата актуализации текста: | 06.04.2015 | 
| Дата актуализации описания: | 01.01.2021 | 
| Дата издания: | 01.04.1981 | 
| Дата введения: | 01.01.1982 | 
| Код ОКП: | 418300 | 
| Взамен: |  ГОСТ 13218.4-67 | 
| Область применения: | Настоящий стандарт распространяется на неразъемные узкие корпуса типа УМ со сквозным отверстием | 
 | 
| Расположен в: | 
  |