| Обозначение: |  ГОСТ 6039-82 |
| Статус: | действующий |
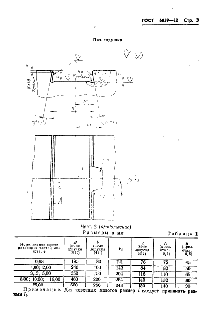
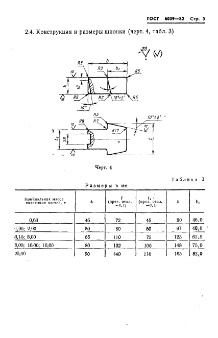
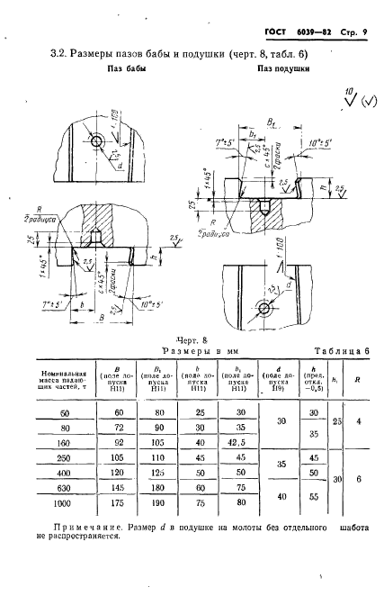
| Название рус.: | Молоты ковочные и штамповочные. Размеры элементов крепления штампов и бойков в бабе и подушке |
| Название англ.: | Forging and stamping hammers. Dimensions for fixing elements of hammer dies and block in tup and cushion |
| Дата актуализации текста: | 06.04.2015 |
| Дата актуализации описания: | 01.07.2023 |
| Дата издания: | 03.11.1982 |
| Дата введения: | 01.07.1983 |
| Код ОКП: | 382500 |
| Взамен: | ГОСТ 6039-71 |
| Область применения: | Настоящий стандарт распространяется на ковочные и штамповочные молоты для производства поковок и выполнения различных операций свободной ковкой, изготовляемые для нужд народного хозяйства и на экспорт |
|
| Расположен в: |
|