| Обозначение: |  ГОСТ Р 50571.21-2000 |
| Статус: | заменён |
| Название рус.: | Электроустановки зданий. Часть 5. Выбор и монтаж электрооборудования. Раздел 548. Заземляющие устройства и системы уравнивания электрических потенциалов в электроустановках, содержащих оборудование обработки информации |
| Название англ.: | Electrical installations of buildings. Part 5. Selection and erection of electrical equipment. Section 548. Earthing arrangements and equipotential bolding for information technology installations |
| Дата актуализации текста: | 06.04.2015 |
| Дата актуализации описания: | 01.07.2023 |
| Дата издания: | 15.06.2012 |
| Дата введения: | 01.01.2002 |
| Дата окончания срока действия: | 01.01.2013 |
| Код ОКП: | 343700;341420 |
| Заменяющий: | ГОСТ Р 50571.5.54-2011 |
| Содержит требования: | IEC 60364-5-548(1996) |
| Нормативные ссылки: | ГОСТ 30331.2-95; ГОСТ Р 50571.2-94; ГОСТ Р 50571.1-2009; ГОСТ 30331.3-95; ГОСТ Р 50571.3-2009; ГОСТ Р 50571.10-96; ГОСТ Р 50571.14-96; ГОСТ Р 50571.19-2000; ГОСТ Р 50571.20-2000; ГОСТ Р 50571.22-2000; ГОСТ Р 50571.23-2000; ГОСТ Р 50571-4-44-2011; ГОСТ Р МЭК 60950-2002 |
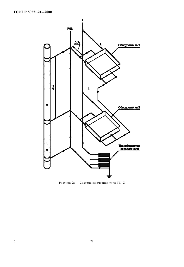
| Область применения: | Настоящий стандарт распространяется на электроустановки зданий, применяемые во всех отраслях экономики страны, независимо от принадлежности и форм собственности, и устанавливает требования по выбору и монтажу электрооборудования, в частности к выбору конструкции и монтажу заземляющих устройств, систем уравнивания и выравнивания электрических потенциалов в электроустановках, содержащих оборудование обработки информации, соединенное между собой для обмена данными, а также другое электрооборудование, чувствительное к помехам |
|
| Расположен в: |
|