| Обозначение: |  ГОСТ 9516-92 |
| Статус: | действующий |
| Название рус.: | Уголь. Метод прямого весового определения влаги в аналитической пробе |
| Название англ.: | Coal. Determination of moisture in the analysis sample. Direct gravimetric method |
| Дата актуализации текста: | 06.04.2015 |
| Дата актуализации описания: | 01.07.2023 |
| Дата издания: | 02.06.1992 |
| Дата введения: | 01.01.1993 |
| Код ОКП: | 032000 |
| Взамен: | ГОСТ 9516-60 |
| Содержит требования: | ISO 331:1983 |
| Нормативные ссылки: | ГОСТ 9147-80; ГОСТ 9293-74; ГОСТ 9932-75; ГОСТ 10742-71; ГОСТ 24104-88; ГОСТ 27336-82; ГОСТ 27314-91 |
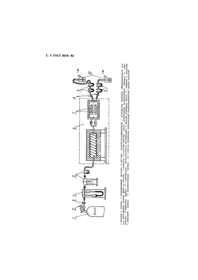
| Область применения: | Настоящий стандарт устанавливает весовой метод определения влаги в аналитической пробе каменного и бурого угля, антрацитов и лигнитов |
|
| Расположен в: |
|