| Обозначение: |  ГОСТ Р 50160-92 |
| Статус: | отменён |
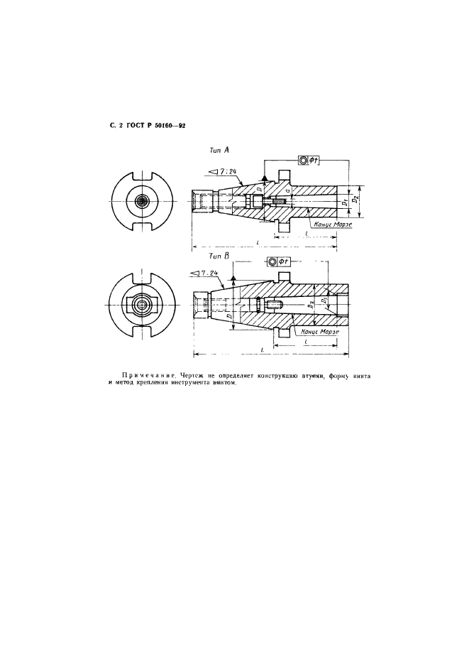
| Название рус.: | Втулки переходные с наружным конусом 7:24 и внутренним конусом Морзе с встроенным винтом. Размеры |
| Название англ.: | Reduction sleeves with 7/24 external and Morse internal taper and incorporated screw. Dimensions |
| Дата актуализации текста: | 06.04.2015 |
| Дата актуализации описания: | 01.07.2023 |
| Дата издания: | 10.11.1994 |
| Дата введения: | 01.07.1993 |
| Дата окончания срока действия: | 01.01.2016 |
| Код ОКП: | 392831 |
| Содержит требования: | ISO 5415:1977 |
| На территории РФ пользоваться: | ГОСТ ISO 5415-2014 |
| Нормативные ссылки: | ГОСТ 25557-82; ГОСТ 25827-93 |
| Область применения: | Настоящий стандарт устанавливает размеры переходных втулок с наружным конусом 7:24 № 30, 40, 45, 50, 60 и внутренним конусом Морзе № 1-6 (конус Морзе № 4, 5, 6 - втулки типа В с принудительным движением или втулки типа А - без принудительного движения). Втулки позволяют закрепить инструмент с коническим хвостовиком Морзе с резьбовым отверстием с помощью внутреннего винта |
| Список изменений: | №0 от 01.01.2016 (рег. 02.06.2015) «Текстовое изменение; Изменено заглавие» |
|
| Расположен в: |
|