| Обозначение: |  ГОСТ Р 50012-92 |
| Статус: | действующий |
| Название рус.: | Совместимость технических средств электромагнитная. Электрооборудование силовое. Методы измерения параметров низкочастотного периодического магнитного поля |
| Название англ.: | Electromagnetic compatibility of technical equipment. Power electrotechnic equipment. Methods of measurement for low frequency periodical magnetic field parameters |
| Дата актуализации текста: | 06.04.2015 |
| Дата актуализации описания: | 01.07.2023 |
| Дата издания: | 01.07.2004 |
| Дата введения: | 01.07.1993 |
| Код ОКП: | 340000 |
| Нормативные ссылки: | ГОСТ 8.020-75; ГОСТ 12.0.004-90; ГОСТ 12.1.030-81; ГОСТ 16263-70; ГОСТ 16842-82 |
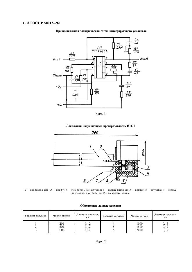
| Область применения: | Настоящий стандарт распространяется на вновь разрабатываемое, изготовляемое и импортируемое силовое (мощностью свыше 0,5 кВт) низковольтное ( напряжением до 1000 В) электрооборудование общепромышленного назначения (далее в тексте - техническое средство). Стандарт устанавливает методы измерения параметров низкочастотного периодического магнитного поля технических средств (ТС) в диапазоне частот 5 - 10000 Гц. Стандарт не распространяется на бытовое электрооборудование и ТС специального назначения |
|
| Расположен в: |
|