| Обозначение: |  ГОСТ 6718-93 |
| Статус: | действующий |
| Название рус.: | Хлор жидкий. Технические условия |
| Название англ.: | Liquid chlorine. Specifications |
| Дата актуализации текста: | 06.04.2015 |
| Дата актуализации описания: | 01.07.2023 |
| Дата регистрации: | 21.10.1993 |
| Дата издания: | 26.06.1995 |
| Дата введения: | 01.01.1995 |
| Код ОКП: | 211431 |
| Взамен: | ГОСТ 6718-86 |
| Содержит требования: | ISO 2120:1972;ISO 2121:1972 |
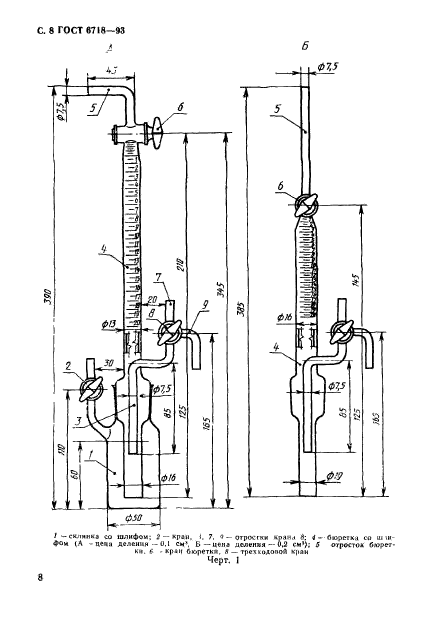
| Область применения: | Настоящий стандарт распространяется на жидкий хлор, применяемый для производства отбеливающих средств, солей, хлорорганических соединений, а также для очистки и стерилизации питьевой воды |
|
| Расположен в: |
|