| Обозначение: |  ГОСТ Р 51330.5-99 |
| Статус: | отменён |
| Название рус.: | Электрооборудование взрывозащищенное. Часть 4. Метод определения температуры самовоспламенения |
| Название англ.: | Explosionprotected electrical apparatus. Part 4. Method of test for ignition temperature |
| Дата актуализации текста: | 06.04.2015 |
| Дата актуализации описания: | 01.07.2023 |
| Дата издания: | 14.03.2000 |
| Дата введения: | 01.01.2001 |
| Дата окончания срока действия: | 15.02.2014 |
| Код ОКП: | 340200 |
| Содержит требования: | IEC 60079-4(1975) |
| На территории РФ пользоваться: | ГОСТ 30852.5-2002 |
| Нормативные ссылки: | ГОСТ 12.1.005-88; ГОСТ 12.1.009-79 |
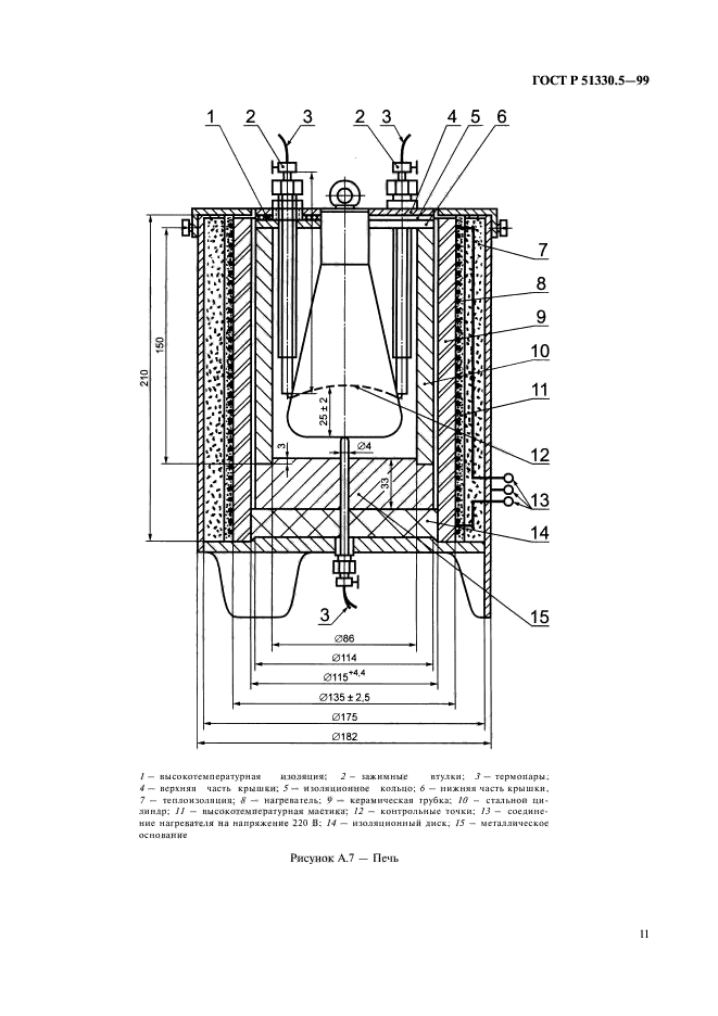
| Область применения: | Настоящий стандарт устанавливает метод определения температуры самовоспламенения химически чистого газа или пара в воздухе при атмосферном давлении |
| Список изменений: | №0 от 15.02.2014 (рег. 29.11.2012) «Текстовое изменение; Изменено заглавие» |
|
| Расположен в: |
|