| Обозначение: |  ГОСТ Р 51262.4-99 |
| Статус: | отменён |
| Название рус.: | Изделия огнеупорные фасонные общего назначения. Форма и размеры |
| Название англ.: | Refractory shaped products of general use. Form and sizes |
| Дата актуализации текста: | 06.04.2015 |
| Дата актуализации описания: | 01.07.2023 |
| Дата издания: | 01.04.2003 |
| Дата введения: | 01.01.2000 |
| Дата окончания срока действия: | 01.02.2019 |
| На территории РФ пользоваться: | ГОСТ 8691-2018 |
| Нормативные ссылки: | ГОСТ Р 51262.1-99; ГОСТ Р 51262.2-99 |
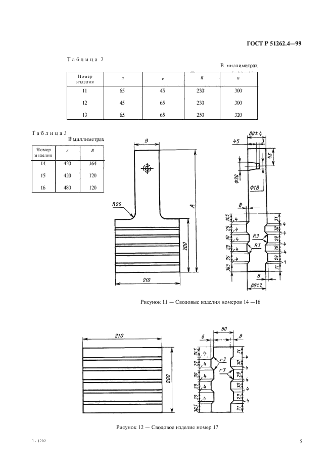
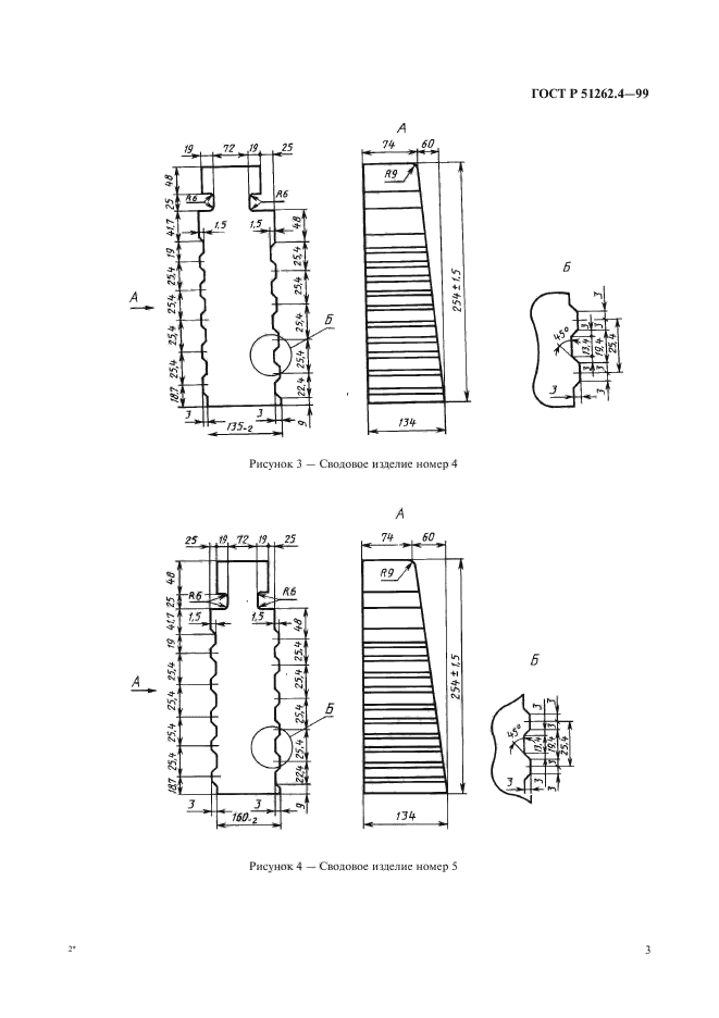
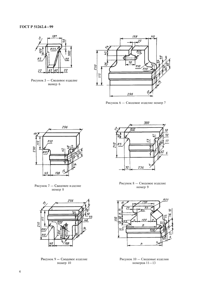
| Область применения: | Настоящий стандарт устанавливает форму и размеры огнеупорных фасонных изделий общего назначения, применяемых для футеровки различных тепловых агрегатов |
| Список изменений: | №0 от 01.02.2019 (рег. 17.09.2018) «Текстовое изменение; Изменено заглавие» |
|
| Расположен в: |
|