| Обозначение: |    ГОСТ 12193-66 | 
| Статус: | действующий | 
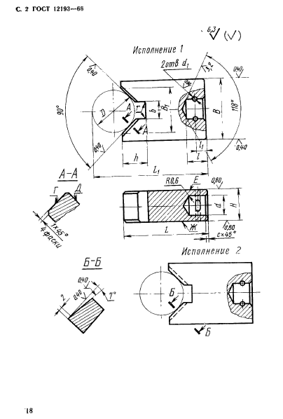
| Название рус.: | Приспособления станочные. Призмы подвижные. Конструкция | 
| Название англ.: | Holding devices. Movable prisms. Design | 
| Дата актуализации текста: | 06.04.2015 | 
| Дата актуализации описания: | 01.07.2023 | 
| Дата издания: | 01.07.1990 | 
| Дата введения: | 01.07.1967 | 
| Код ОКП: | 396100 | 
| Взамен: | МН 342-60 | 
| Нормативные ссылки: |  ГОСТ 4543-71; ГОСТ 8908-58; ГОСТ 9.073-77 | 
| Область применения: | Настоящий стандарт распространяется на конструкцию и размеры подвижных призм | 
| Список изменений: | №1 от 01.01.1969 (рег. 11.11.1968) «Срок действия продлен» №2 от 01.12.1980 (рег. 29.06.1980) «Срок действия продлен» №3 от 01.01.1989 (рег. 17.03.1988) «Поправка» | 
 | 
| Расположен в: | 
  |