| Обозначение: |    ГОСТ 13158-67 | 
| Статус: | действующий | 
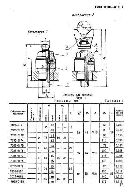
| Название рус.: | Подпорки винтовые встроенные для станочных приспособлений. Конструкция | 
| Название англ.: | Screw sprags built-in for machine retaining devices. Design and dimensions | 
| Дата актуализации текста: | 06.04.2015 | 
| Дата актуализации описания: | 01.07.2023 | 
| Дата издания: | 01.05.1990 | 
| Дата введения: | 01.07.1968 | 
| Код ОКП: | 396100 | 
| Взамен: | МН 346-60;МН 347-60;МН 348-60;МН 349-60 | 
| Нормативные ссылки: |  ГОСТ 3128-70; ГОСТ 1478-75; ГОСТ 1050-74; ГОСТ 16093-70; ГОСТ 10549-63; ГОСТ 9.073-77; ГОСТ 8820-69;СТ СЭВ 182-75 | 
| Область применения: | Настоящий стандарт распространяется на винтовые встроенные подпорки, применяемые в качестве подводимых опор и дополнительного крепления деталей в местах, подверженных деформациям прогиба от действия зажимов, давления режущего инструмента и т.п. | 
| Список изменений: | №1 от 01.12.1980 (рег. 29.06.1980) «Срок действия продлен» №2 от 01.01.1989 (рег. 17.03.1988) «Поправка» | 
 | 
| Расположен в: | 
  |