| Обозначение: |    ГОСТ 13163-67 | 
| Статус: | действующий | 
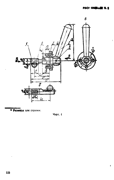
| Название рус.: | Зажимы реечные с конусным замком для станочных приспособлений. Конструкция | 
| Название англ.: | Rack type clips with tapered lock for machine retainig devices. Design and dimensions | 
| Дата актуализации текста: | 06.04.2015 | 
| Дата актуализации описания: | 01.07.2023 | 
| Дата издания: | 01.05.1990 | 
| Дата введения: | 01.07.1968 | 
| Код ОКП: | 396100 | 
| Взамен: | МН 356-60 | 
| Нормативные ссылки: |  ГОСТ 1491-72; ГОСТ 3055-69; ГОСТ 3128-70; ГОСТ 4543-71; ГОСТ 8593-57; ГОСТ 8908-58; ГОСТ 9587-68; ГОСТ 13755-68; ГОСТ 9178-72; ГОСТ 1643-72; ГОСТ 9.073-77; ГОСТ 1050-74;СТ СЭВ 182-75 | 
| Область применения: | Настоящий стандарт распространяется на реечные зажимы с конусным замком | 
| Список изменений: | №1 от 01.12.1980 (рег. 29.06.1980) «Срок действия продлен» №2 от 01.01.1989 (рег. 17.03.1988) «Поправка» | 
 | 
| Расположен в: | 
  |