| Обозначение: |    ГОСТ 8106-70 | 
| Статус: | действующий | 
| Название рус.: | Лампы электронные маломощные. Методы испытаний на внутриламповые замыкания и обрывы | 
| Название англ.: | Low-power vacuum valves. Methods of internal shorts and breaks tests | 
| Дата актуализации текста: | 06.04.2015 | 
| Дата актуализации описания: | 01.01.2021 | 
| Дата издания: | 01.04.1984 | 
| Дата введения: | 01.01.1971 | 
| Код ОКП: | 636100 | 
| Взамен: |  ГОСТ 8106-56 | 
| Нормативные ссылки: |  ГОСТ 8089-71 | 
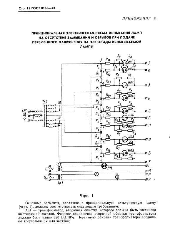
| Область применения: | Настоящий стандарт распространяется на лампы электронные мощностью рассеиваемой анодом, до 25 Вт и устанавливает: метод механического возбуждения; метод индикации при постоянных напряжения на электродах испытываемой лампы с запоминающими индикаторами; метод индикации при переменных напряжениях на электродах испытываемой лампы | 
| Список изменений: | №2 от 01.08.1977 (рег. 30.03.1977) «Срок действия продлен» №3 от 01.04.1979 (рег. 01.11.1978) «Срок действия продлен» №4 от 01.02.1984 (рег. 27.10.1983) «Срок действия продлен» | 
 | 
| Расположен в: | 
  |