| Обозначение: |    ГОСТ 9229-72 | 
| Статус: | действующий | 
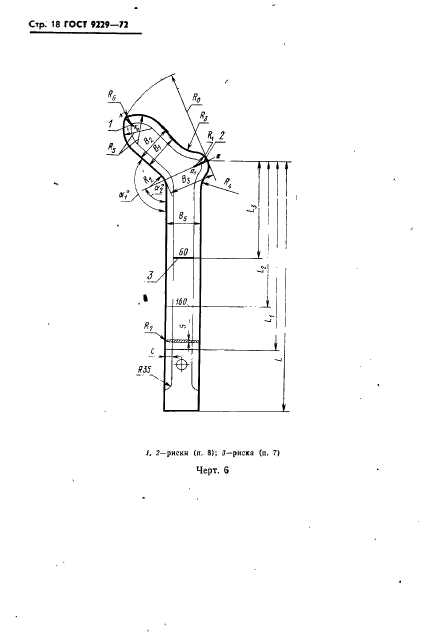
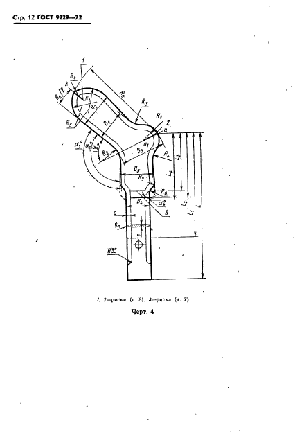
| Название рус.: | Формы отделочные для чулочно-носочных изделий. Размеры | 
| Название англ.: | Finishing forms for socks and stockings. Dimensions | 
| Дата актуализации текста: | 06.04.2015 | 
| Дата актуализации описания: | 01.07.2023 | 
| Дата издания: | 01.02.1984 | 
| Дата введения: | 01.07.1974 | 
| Код ОКП: | 511488 | 
| Взамен: |  ГОСТ 9229-59 | 
| Нормативные ссылки: |  ГОСТ 2.304-68; ГОСТ 2789-59; ГОСТ 12592-67 | 
| Область применения: | Настоящий стандарт распространяется на формы для машинной отделки чулочно-носочных изделий, вырабатываемых на круглочулочных автоматах и котонных машинах из различных видов натурального, искусственного и синтетического сырья и их различных сочетаний, кроме форм для отделки чулочно-носочных изделий, вырабатываемых на круглочулочных автоматах из капроновой нити эластик | 
| Список изменений: | №0 от 08.12.1988 (рег. 08.12.1988) «Срок действия продлен» №1 от 01.07.1974 (рег. 24.05.1974) «Срок действия продлен» №2 от 01.04.1984 (рег. 14.11.1983) «Срок действия продлен» | 
 | 
| Расположен в: | 
  |