| Обозначение: |  ГОСТ 9833-73 |
| Статус: | действующий |
| Название рус.: | Кольца резиновые уплотнительные круглого сечения для гидравлических и пневматических устройств. Конструкция и размеры |
| Название англ.: | Rubber toroidal sealing rings for hydraulic and pneumatic equipment. Construction and dimensions |
| Дата актуализации текста: | 06.04.2015 |
| Дата актуализации описания: | 01.07.2023 |
| Дата издания: | 01.10.1998 |
| Дата введения: | 01.01.1975 |
| Код ОКП: | 253110 |
| Взамен в части: | ГОСТ 9833-61 в части размеров |
| Нормативные ссылки: | ISO 3601:1978; ГОСТ 2789-73; ГОСТ 10007-80; ГОСТ 10549-80; ГОСТ 10589-87; ГОСТ 25346-89; ГОСТ 25347-82 |
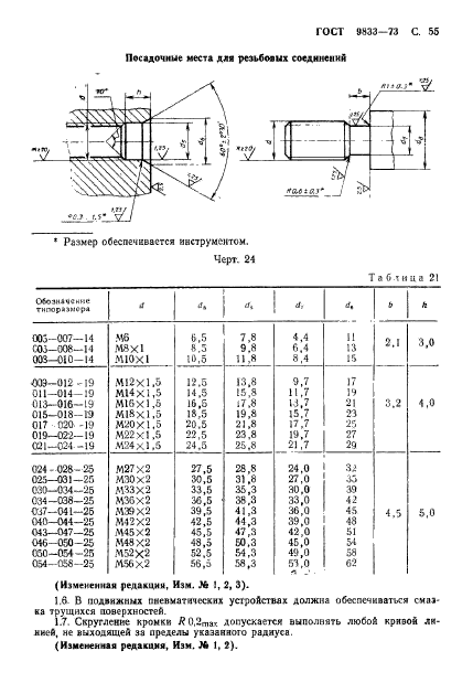
| Область применения: | Настоящий стандарт устанавливает конструкцию и размеры резиновых уплотнительных колец круглого сечения для гидравлических, топливных, смазочных и пневматических устройств |
| Список изменений: | №1 от 01.07.1979 (рег. 28.02.1979) «Срок действия продлен» №2 от 01.01.1983 (рег. 19.08.1982) «Срок действия продлен» №3 от 01.01.1988 (рег. 29.06.1987) «Срок действия продлен» |
|
| Расположен в: |
|