| Обозначение: |  ГОСТ 8002-74 |
| Статус: | заменён |
| Название рус.: | Двигатели внутреннего сгорания поршневые. Воздухоочистители. Методы стендовых безмоторных испытаний |
| Название англ.: | Internal combustion engines. Air cleaners. Methods of motorless bench testing |
| Дата актуализации текста: | 06.04.2015 |
| Дата актуализации описания: | 01.07.2023 |
| Дата издания: | 01.05.1984 |
| Дата введения: | 01.01.1975 |
| Дата окончания срока действия: | 01.06.2021 |
| Код ОКП: | 456000 |
| Взамен: | ГОСТ 8002-62 |
| Заменяющий: | ГОСТ 8002-2020 |
| Нормативные ссылки: | ГОСТ 2138-74; ГОСТ 982-68 |
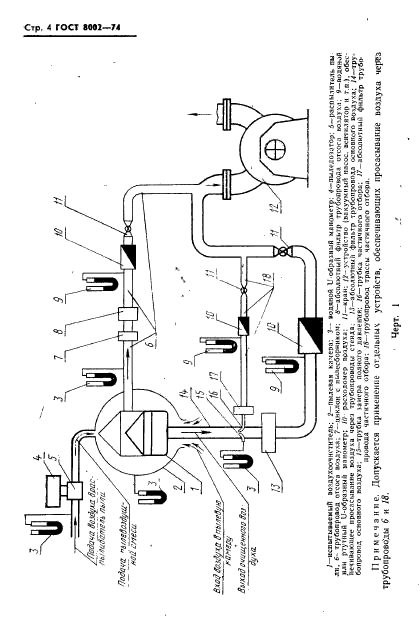
| Область применения: | Настоящий стандарт распространяется на воздухоочистители поршневых двигателей внутреннего сгорания и устанавливает методы приемочных и периодических контрольных стендовых безмоторных испытаний воздухоочистителей |
| Список изменений: | №1 от 01.03.1984 (рег. 21.11.1983) «Срок действия продлен» №2 от 01.10.1987 (рег. 10.05.1987) «Срок действия продлен» |
|
| Расположен в: |
|