| Обозначение: |  ГОСТ 4668-75 |
| Статус: | действующий |
| Название рус.: | Материалы углеродные. Метод измерения удельного электрического сопротивления порошка |
| Название англ.: | Carbonaceous materials. Method of electrical resistance definition of powder |
| Дата актуализации текста: | 06.04.2015 |
| Дата актуализации описания: | 01.07.2023 |
| Дата издания: | 01.06.1977 |
| Дата введения: | 01.01.1977 |
| Код ОКП: | 159100 |
| Взамен: | ГОСТ 4668-65 |
| Нормативные ссылки: | ГОСТ 8711-78; ГОСТ 7164-78; ГОСТ 9245-79; ГОСТ 9500-84; ГОСТ 6613-86; ГОСТ 10515-75; ГОСТ 23932-79; ГОСТ 9244-75; ГОСТ 5072-79; ГОСТ 25336-82; ГОСТ 10742-71; ГОСТ 23083-78; ГОСТ 16799-79; ГОСТ 1770-74;ОСТ 16.0.801.397 |
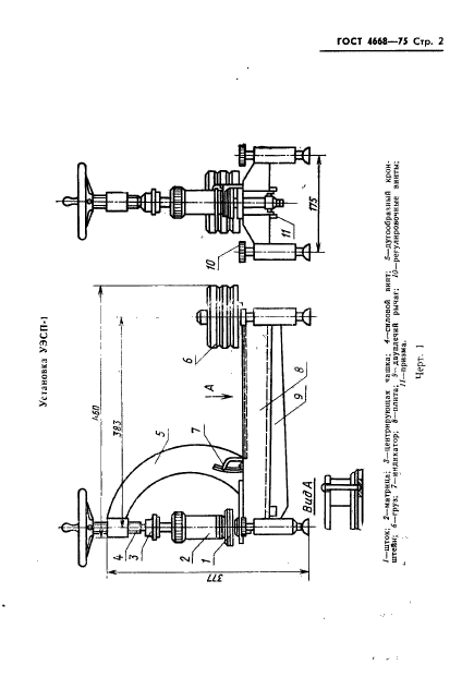
| Область применения: | Настоящий стандарт распространяется на каменноугольный, нефтяной, пековый и сланцевый коксы, антрацит, термоантрацит и искусственный графит и устанавливает метод измерений удельного электрического сопротивления в интервале от 10 в степени минус 5 до 10 в степени минус 1 Ом Х м |
| Список изменений: | №1 от 01.03.1982 (рег. 24.09.1981) «Срок действия продлен» №2 от 01.01.1987 (рег. 19.08.1986) «Поправка» №3 от 01.07.1992 (рег. 02.10.1991) «Срок действия продлен» |
|
| Расположен в: |
|