| Обозначение: |  ГОСТ 3124-77 |
| Статус: | действующий |
| Название рус.: | Соединения шланговые для гибких шлангов гидромониторов. Технические условия |
| Название англ.: | Hose connections for flexible hoses of monitors. Specifications |
| Дата актуализации текста: | 06.04.2015 |
| Дата актуализации описания: | 01.07.2023 |
| Дата издания: | 01.10.1984 |
| Дата введения: | 01.01.1979 |
| Код ОКП: | 295900 |
| Взамен: | ГОСТ 3124-57 |
| Нормативные ссылки: | ГОСТ 15527-70; ГОСТ 17711-72; ГОСТ 1050-74; ГОСТ 7338-65; ГОСТ 8724-58; ГОСТ 16098-70; ГОСТ 2171-73; ГОСТ 4666-75; ГОСТ 2991-75; ГОСТ 14192-71; ГОСТ 2.601-68; ГОСТ 15150-69; ГОСТ 13168-69 |
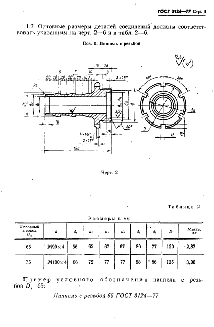
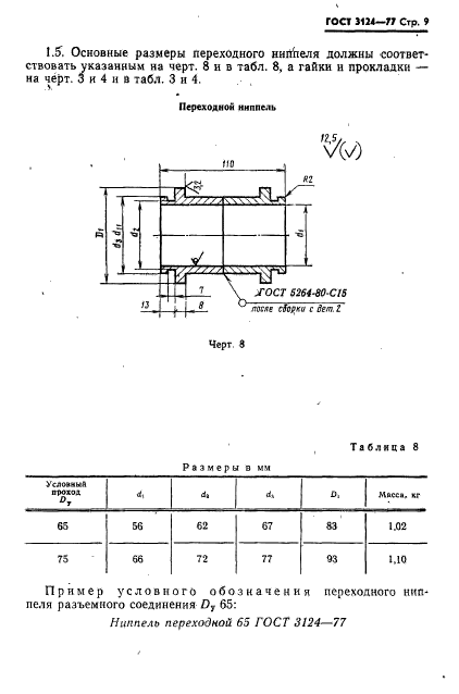
| Область применения: | Настоящий стандарт распространяется на шланговые соединения, работающие при давлении до 2,5 МПа (приблизительно 25 кгс/кв.см ), предназначенные для герметичного соединения напорных шлангов между собой, а также для присоединения их к гидромониторам |
| Список изменений: | №1 от 01.04.1984 (рег. 04.11.1983) «Срок действия продлен» |
|
| Расположен в: |
|