| Обозначение: |  ГОСТ 4010-77 |
| Статус: | действующий |
| Название рус.: | Сверла спиральные с цилиндрическим хвостовиком. Короткая серия. Основные размеры |
| Название англ.: | Twist drils with parallel shanks. Short series. Basic dimensions |
| Дата актуализации текста: | 06.04.2015 |
| Дата актуализации описания: | 01.07.2023 |
| Дата издания: | 01.07.2003 |
| Дата введения: | 01.01.1979 |
| Код ОКП: | 391210 |
| Взамен: | ГОСТ 4010-64;МН 181-65;МН 555-65 |
| Содержит требования: | СТ СЭВ 272-87 |
| Нормативные ссылки: | ISO 235-1:1975; ГОСТ 14034-74 |
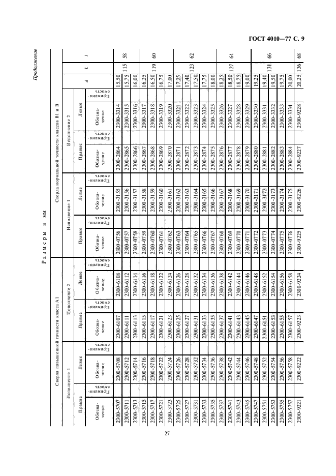
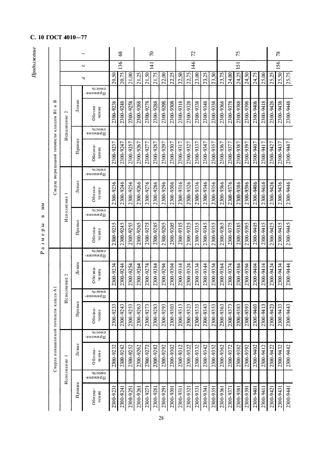
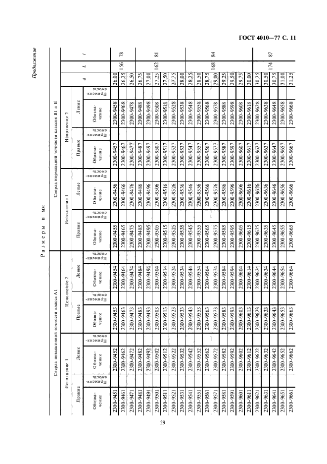
| Область применения: | Настоящий стандарт распространяется на правые и левые спиральные сверла с цилиндрическим хвостовиком диаметром от 0,5 мм до 20 мм |
| Список изменений: | №1 от 01.01.1983 (рег. 22.07.1982) «Срок действия продлен» №2 от 01.09.1988 (рег. 26.04.1988) «Срок действия продлен» |
|
| Расположен в: |
|