| ||||||||||||||||||||||||||||||||||
Скачать ГОСТ 5890-78 Соединения труб штуцерно-торцовые. Технические условияДата актуализации: 01.06.2025
| ||||||||||||||||||||||||||||||||||
| Обозначение: | ![]() ГОСТ 5890-78 |
| Статус: | действующий |
| Название рус.: | Соединения труб штуцерно-торцовые. Технические условия |
| Название англ.: | Pipe connection with screwed ends. Specifications |
| Дата актуализации текста: | 06.04.2015 |
| Дата актуализации описания: | 01.07.2023 |
| Дата издания: | 01.07.1998 |
| Дата введения: | 01.07.1979 |
| Код ОКП: | 295200 |
| Взамен: | ГОСТ 5890-68 |
| Нормативные ссылки: | ГОСТ 2822-78; ГОСТ 6424-73; ГОСТ 8731-74; ГОСТ 8733-74; ГОСТ 9941-81; ГОСТ 617-90; ГОСТ 17217-79; ГОСТ 15150-69; ГОСТ 1050-88; ГОСТ 4543-71; ГОСТ 18175-78; ГОСТ 5632-72; ГОСТ 15527-70; ГОСТ 14192-96; ГОСТ 15150-69; ГОСТ 9.014-78;ОСТ 5.5536-83 |
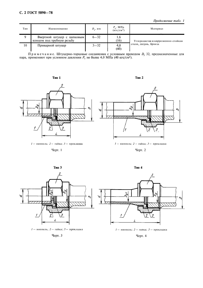
| Область применения: | Настоящий стандарт распространяется на штуцерно-торцовые соединения труб и штуцера с условным давлением Ру до 10 МПа (до 100 кгс/см. кв.), применяемые в трубопроводах кораблей, судов и плавсредств, в том числе для экспорта |
| Список изменений: | №1 от 01.07.1984 (рег. 15.12.1983) «Срок действия продлен» №2 от 01.04.1986 (рег. 31.10.1985) «Срок действия продлен» №3 от 01.07.1989 (рег. 29.11.1988) «Срок действия продлен» |
| Расположен в: | |










