| Обозначение: |    ГОСТ 8898-78 | 
| Статус: | действующий | 
| Название рус.: | Подпятники для измерительных приборов. Общие технические условия | 
| Название англ.: | Step-bearing for measuring instruments. General specifications | 
| Дата актуализации текста: | 06.04.2015 | 
| Дата актуализации описания: | 01.07.2023 | 
| Дата издания: | 01.06.1987 | 
| Дата введения: | 01.01.1979 | 
| Код ОКП: | 428513 | 
| Взамен: |  ГОСТ 8898-68 | 
| Нормативные ссылки: |  ГОСТ 15519-70; ГОСТ 22028-76; ГОСТ 18242-72; ГОСТ 18321-73; ГОСТ 8074-71; ГОСТ 9696-61; ГОСТ 3479-75; ГОСТ 892-70; ГОСТ 10354-73; ГОСТ 5556-75; ГОСТ 2991-69; ГОСТ 15150-69;СТ СЭВ 144-75 | 
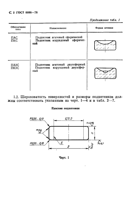
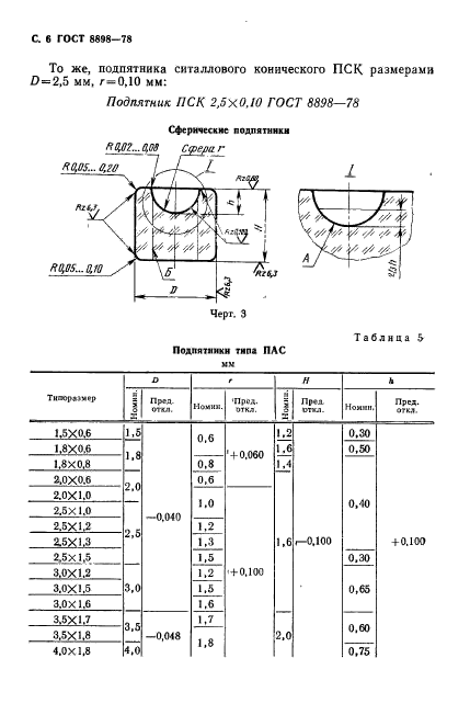
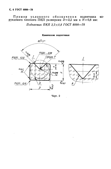
| Область применения: | Настоящий стандарт распространяется на подпятники, применяемые в качестве опор в измерительных приборах | 
| Список изменений: | №0 от 15.06.1988 (рег. 14.06.1988) «Срок действия продлен» №1 от 01.01.1983 (рег. 17.08.1982) «Срок действия продлен» | 
 | 
| Расположен в: | 
  |