| ||||||||||||||||||||||||||||||
 Скачать ГОСТ 13218.10-80 Корпуса типа РУ подшипников качения. Конструкция и размерыДата актуализации: 01.06.2025
 | ||||||||||||||||||||||||||||||
| Обозначение: | ![]()   ГОСТ 13218.10-80 | 
| Статус: | действующий | 
| Название рус.: | Корпуса типа РУ подшипников качения. Конструкция и размеры | 
| Название англ.: | Pillow blocks of serie РУ for rolling bearings. Construction and dimensions | 
| Дата актуализации текста: | 06.04.2015 | 
| Дата актуализации описания: | 01.01.2021 | 
| Дата издания: | 01.04.1981 | 
| Дата введения: | 01.01.1982 | 
| Код ОКП: | 418300 | 
| Взамен: |  ГОСТ 13218.10-67 | 
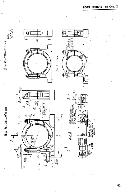
| Область применения: | Настоящий стандарт распространяется на разъемные узкие корпуса типа РУ со сквозным отверстием | 
| Расположен в: | |



