| Обозначение: |  ГОСТ 4070-2000 |
| Статус: | заменён |
| Название рус.: | Изделия огнеупорные. Метод определения температуры деформации под нагрузкой |
| Название англ.: | Refractory products. Method for determination of refractoriness-under-load |
| Дата актуализации текста: | 06.04.2015 |
| Дата актуализации описания: | 01.07.2023 |
| Дата регистрации: | 22.06.2000 |
| Дата издания: | 01.03.2006 |
| Дата введения: | 01.06.2001 |
| Дата окончания срока действия: | 01.09.2015 |
| Взамен: | ГОСТ 4070-83 |
| Заменяющий: | ГОСТ 4070-2014 |
| Содержит требования: | ISO 1893:1989 |
| Нормативные ссылки: | ГОСТ 166-89; ГОСТ 5378-88; ГОСТ 6672-75; ГОСТ 7164-78; ГОСТ 8179-98; ГОСТ 8335-81; ГОСТ 28874-90 |
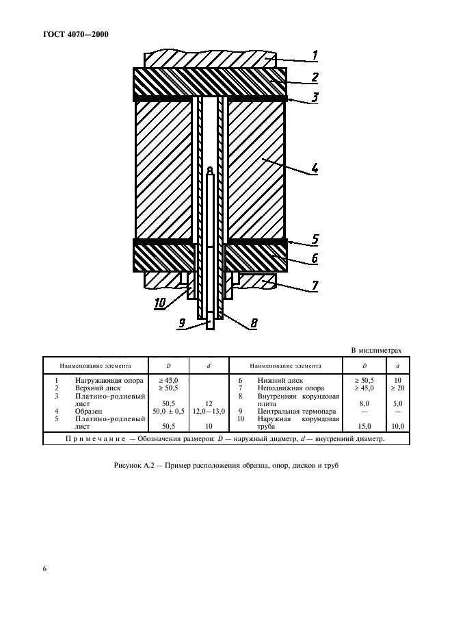
| Область применения: | Настоящий стандарт устанавливает метод определения температуры деформации под нагрузкой огнеупорных изделий с общей пористостью менее 45%. Стандарт не распространяется на теплоизоляционные огнеупорные изделия |
| Список изменений: | №0 от 14.09.2001 (рег. 14.09.2001) «Дата введения перенесена» |
| Приложение №1: | Поправка к ГОСТ 4070-2000 |
| Приложение №2: | Поправка к ГОСТ 4070-2000 |
|
| Расположен в: |
|