| Обозначение: |  ГОСТ Р 51334-99 |
| Статус: | действующий |
| Название рус.: | Безопасность машин. Безопасные расстояния для предохранения верхних конечностей от попадания в опасную зону |
| Название англ.: | Safety of machinery. Safety distances to prevent danger zones being reached by the upper limbs |
| Дата актуализации текста: | 06.04.2015 |
| Дата актуализации описания: | 01.01.2021 |
| Дата издания: | 01.12.2005 |
| Дата введения: | 01.07.2000 |
| Аутентичен стандартам: | EN 294-92 |
| Нормативные ссылки: | ГОСТ Р 51333-99 |
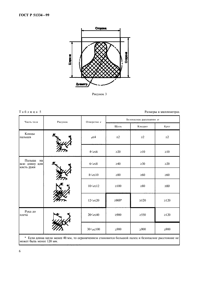
| Область применения: | Настоящий стандарт устанавливает значения безопасных расстояний, за исключением опасных зон для верхних конечностей лиц от трех лет и старше. Настоящий стандарт применим в случаях, когда оцениваемая безопасность может быть достигнута через расстояния. Настоящий стандарт не распространяется на машины, для которых предусмотрены определенные электротехнические нормы со специальными испытаниями, например, применением испытательных щупов |
|
| Расположен в: |
|