| Обозначение: |  ГОСТ 24252-80 |
| Статус: | действующий |
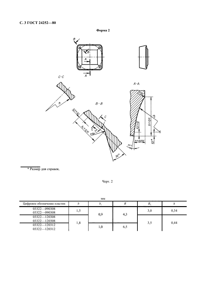
| Название рус.: | Пластины режущие сменные многогранные твердосплавные квадратной формы с задним углом и стружколомающими канавками. Конструкция и размеры |
| Название англ.: | Square throw-away (indexable) carbide cutting inserts with end-clearance angle and chip-breaking flutes. Design and dimensions |
| Дата актуализации текста: | 06.04.2015 |
| Дата актуализации описания: | 01.07.2023 |
| Дата издания: | 01.09.2006 |
| Дата введения: | 01.01.1982 |
| Код ОКП: | 196000 |
| Нормативные ссылки: | ISO 883:1985; ГОСТ 19042-80; ГОСТ 19086-80 |
| Область применения: | Настоящий стандарт устанавливает конструкцию и размеры пластин режущих сменных многогранных твердосплавных квадратной формы с задним углом и стружколомающими канавками |
| Список изменений: | №1 от 01.01.1985 (рег. 29.10.1984) «Срок действия продлен» №2 от 01.08.1991 (рег. 29.12.1990) «Срок действия продлен» |
|
| Расположен в: |
|