| Обозначение: |  ГОСТ Р 40.003-2005 |
| Статус: | заменён |
| Название рус.: | Система сертификации ГОСТ Р. Регистр систем качества. Порядок сертификации систем менеджмента качества на соответствие ГОСТ Р ИСО 9001–2001 (ИСО 9001:2000) |
| Название англ.: | GOST R certification system. Register of quality systems. Certification procedure of quality management systems to accordance with GOST R ISO 9001-2001 (ISO 9001:2000) |
| Дата актуализации текста: | 06.04.2015 |
| Дата актуализации описания: | 01.07.2023 |
| Дата издания: | 16.01.2006 |
| Дата введения: | 01.03.2006 |
| Дата окончания срока действия: | 01.12.2009 |
| Заменяющий: | ГОСТ Р 40.003-2008 |
| Нормативные ссылки: | ГОСТ Р ИСО/МЭК 62-2000; ГОСТ Р ИСО 9000-2001; ГОСТ Р ИСО 9001-2001; ГОСТ Р ИСО 9004-2001; ГОСТ Р ИСО 19011-2003 |
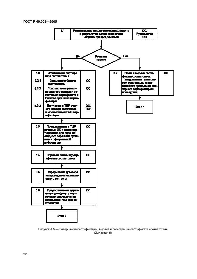
| Область применения: | Настоящий стандарт устанавливает порядок сертификации систем менеджмента качества на соответствие требованиям ГОСТ Р ИСО 9001 в Системе сертификации ГОСТ Р. Стандарт предназначен для применения органами по сертификации систем менеджмента качества Системы сертификации ГОСТ Р, организациями, претендующими на получение сертификата соответствия системы менеджмента качества, организациями - держателями таких сертификатов |
|
| Расположен в: |
|