| Обозначение: |  ГОСТ 10739-84 |
| Статус: | действующий |
| Название рус.: | Автоматы листоштамповочные с нижним приводом. Параметры и размеры. Нормы точности |
| Название англ.: | Automatic sheet stamping presses with underheath drive. Parameters and dimensions. Norms of accuracy |
| Дата актуализации текста: | 06.04.2015 |
| Дата актуализации описания: | 01.07.2023 |
| Дата издания: | 01.12.1996 |
| Дата введения: | 01.01.1986 |
| Код ОКП: | 382460 |
| Взамен: | ГОСТ 10739-78; ГОСТ 10740-79 |
| Нормативные ссылки: | ГОСТ 503-81; ГОСТ 577-68; ГОСТ 3749-77; ГОСТ 8026-92; ГОСТ 9696-82; ГОСТ 11196-74; ГОСТ 15961-89 |
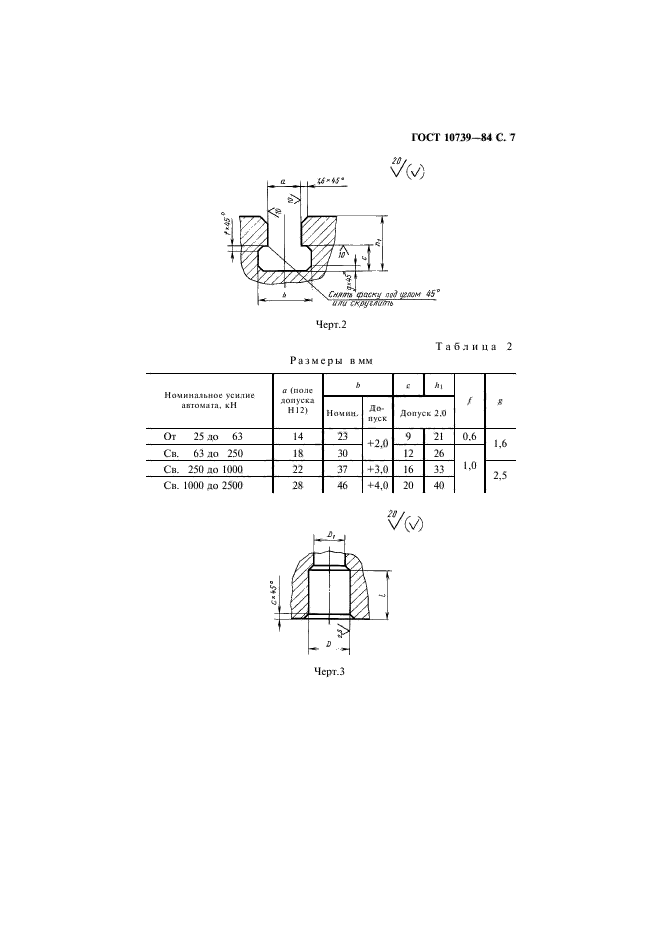
| Область применения: | Настоящий стандарт распространяется на листоштамповочные автоматы с нижним приводом, предназначенные для выполнения различных операций листовой штамповки деталей из ленты и полосы, изготавливаемые для нужд народного хозяйства и экспорта |
| Список изменений: | №1 от 01.07.1986 (рег. 15.08.1985) «Срок действия продлен» №2 от 01.01.1991 (рег. 06.03.1989) «Поправка» №3 от 01.06.1991 (рег. 24.12.1990) «Срок действия продлен» №4 от 01.01.1993 (рег. 23.04.1992) «Срок действия продлен» |
|
| Расположен в: |
|