| Обозначение: |  ГОСТ 6482-88 |
| Статус: | заменён |
| Название рус.: | Трубы железобетонные безнапорные. Технические условия |
| Название англ.: | Reinforced concrete non-pressure pipes. Specifications |
| Дата актуализации текста: | 06.04.2015 |
| Дата актуализации описания: | 01.07.2023 |
| Дата издания: | 15.05.1989 |
| Дата введения: | 01.01.1990 |
| Дата окончания срока действия: | 01.01.2013 |
| Код ОКП: | 586221 |
| Взамен: | ГОСТ 6482.0-79; ГОСТ 6482.1-79 |
| Заменяющий: | ГОСТ 6482-2011 |
| Нормативные ссылки: | ГОСТ 8.326-78; ГОСТ 166-80; ГОСТ 868-82; ГОСТ 2405-80; ГОСТ 5781-82; ГОСТ 5916-70; ГОСТ 5927-70; ГОСТ 6727-80; ГОСТ 7202-80; ГОСТ 7805-70; ГОСТ 8829-85; ГОСТ 26633-85; ГОСТ 26433.0-85; ГОСТ 25706-83; ГОСТ 10060-87 |
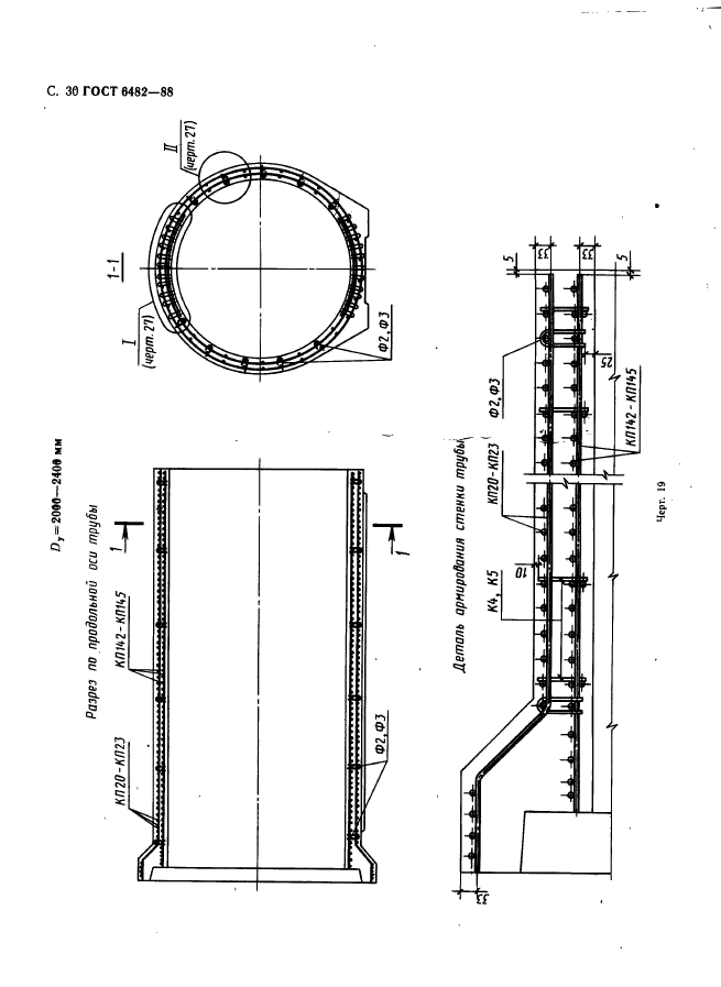
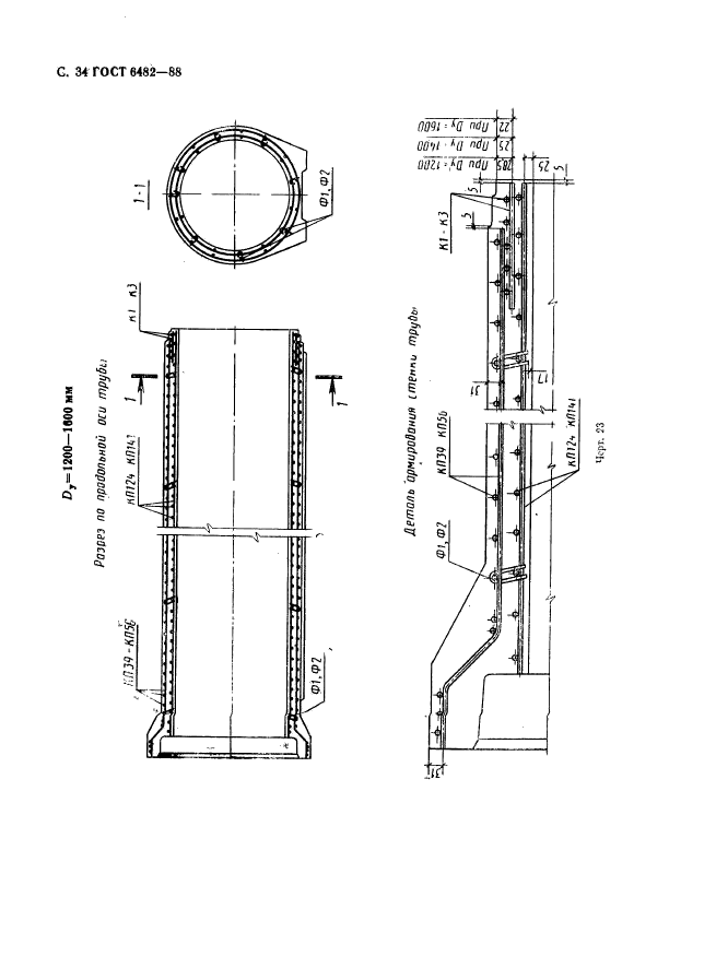
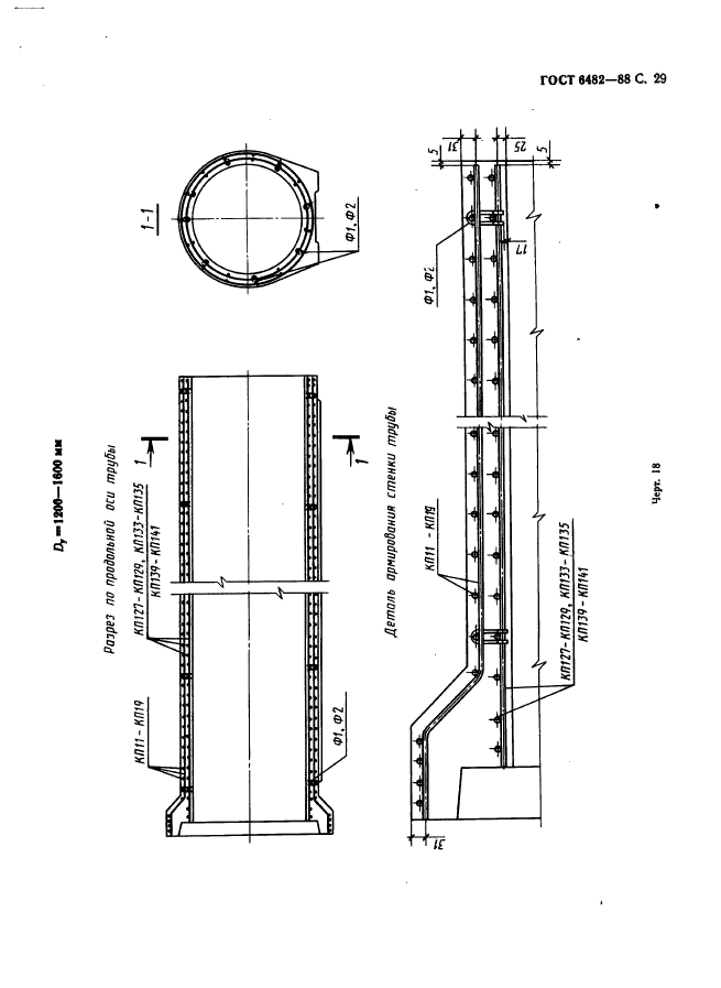
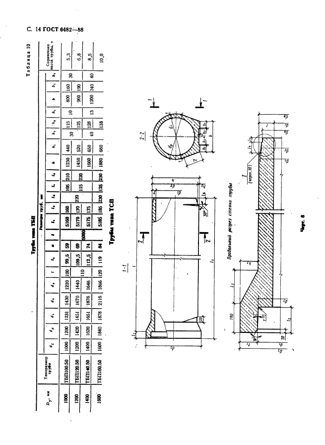
| Область применения: | Настоящий стандарт распространяется на железобетонные безнапорные раструбные и фальцевые трубы с круглым отверстием, изготовляемые из тяжелого бетона и предназначенные для прокладки подземных трубопроводов, транспортирующих самотеком бытовые жидкости и атмосферные сточные воды, а также подземные воды и производственные жидкости, не агрессивные к железобетону и уплотняющим резиновым кольцам. Стандарт не распространяется на железобетонные водопропускные трубы, укладываемые под насыпями железных и автомобильных дорог |
|
| Расположен в: |
|