| Обозначение: |  ГОСТ 3484.2-88 |
| Статус: | действующий |
| Название рус.: | Трансформаторы силовые. Испытания на нагрев |
| Название англ.: | Power transformers. Heating tests |
| Дата актуализации текста: | 06.04.2015 |
| Дата актуализации описания: | 01.07.2023 |
| Дата издания: | 24.03.1989 |
| Дата введения: | 01.01.1990 |
| Код ОКП: | 341000 |
| Взамен в части: | ГОСТ 3484-77 в части испытаний на нагрев |
| Содержит требования: | СТ СЭВ 5019-85 |
| Нормативные ссылки: | IEC 60076-2(1976); ГОСТ 8.207-76; ГОСТ 3044-84; ГОСТ 11677-85; ГОСТ 15150-69; ГОСТ 16504-81; ГОСТ 26969-86 |
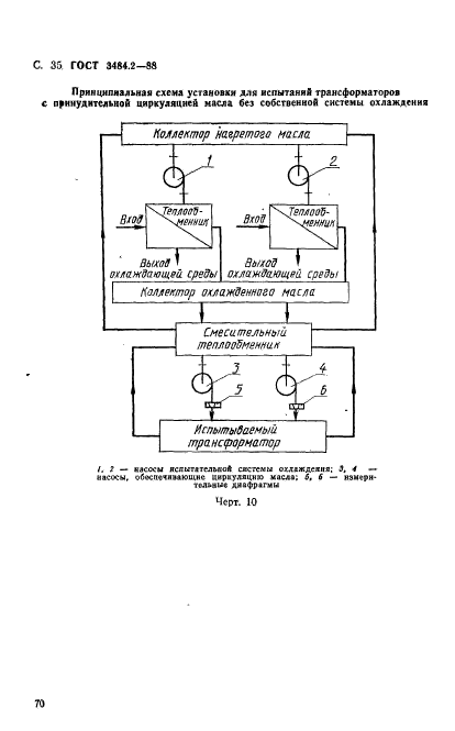
| Область применения: | Настоящий стандарт распространяется на силовые трансформаторы общего назначения и устанавливает объем, условия и методы испытания на нагрев, а также требования к измерению температур элементов транчформаторов и окружающей среды |
| Список изменений: | №1 от 01.07.1992 (рег. 27.12.1991) «Срок действия продлен» |
|
| Расположен в: |
|