| Обозначение: |  ГОСТ 4545-88 |
| Статус: | действующий |
| Название рус.: | Вещества взрывчатые бризантные. Методы определения характеристик чувствительности к удару |
| Название англ.: | Explosives, high. Sensitivity characteristics determination for impact |
| Дата актуализации текста: | 06.04.2015 |
| Дата актуализации описания: | 01.07.2023 |
| Дата издания: | 08.12.1988 |
| Дата введения: | 01.07.1989 |
| Код ОКП: | 727600 |
| Взамен: | ГОСТ 4545-80 |
| Нормативные ссылки: | ГОСТ 801-78; ГОСТ 859-78; ГОСТ 1435-74 |
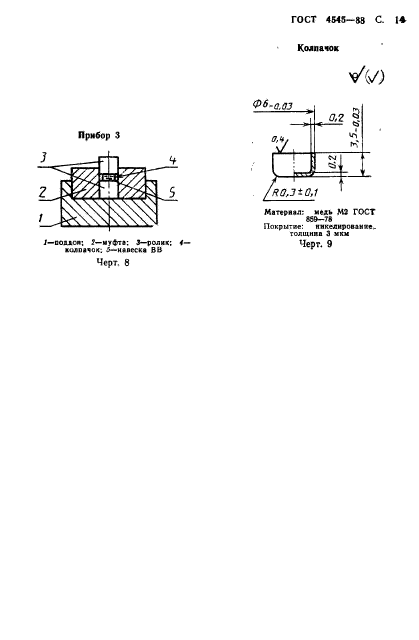
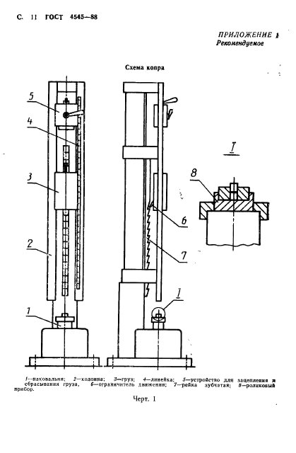
| Область применения: | Настоящий стандарт распространяется на бризантные взрывчатые вещества (ВВ) и устанавливает методы определения характеристик чуствительности к удару: - нижнего предела чувствительности к удару твердых ВВ на приборе 2; - частости взрывов твердых ВВ в приборе 1 - только для ВВ, нижний предел чувствительности к удару грузом массой 10 кг которых составляет 50 мм и более; - частости взрывов жидких ВВ в приборе 3; - нижнего предела чувствительности к удару жидких ВВ в приборе 3 |
| Список изменений: | №1 от 01.03.1999 (рег. 25.11.1998) «Срок действия продлен» |
|
| Расположен в: |
|