Информационная система
«Ёшкин Кот»

Скачать базу одним архивом
Скачать обновления
История создания базы
Карта сайта

Скачать ГОСТ 13317-89 Элементы соединения СВЧ трактов радиоизмерительных приборов. Присоединительные размеры

Дата актуализации: 01.06.2025

ГОСТ 13317-89

Элементы соединения СВЧ трактов радиоизмерительных приборов. Присоединительные размеры

Обозначение: ГОСТ 13317-89
Статус:действующий
Название рус.:Элементы соединения СВЧ трактов радиоизмерительных приборов. Присоединительные размеры
Название англ.:Connectors of microwave channels of radiomeasuring apparatus. Connecting dimensions
Дата актуализации текста:06.04.2015
Дата актуализации описания:01.07.2023
Дата издания:30.11.1989
Дата введения:01.01.1991
Код ОКП:668000
Взамен:ГОСТ 13317-80
Содержит требования:IEC 60169-15(1979);IEC 60169-16(1982)
Нормативные ссылки:ГОСТ 2789-73;ГОСТ 18138-72;ГОСТ 20265-83;ГОСТ 20900-75
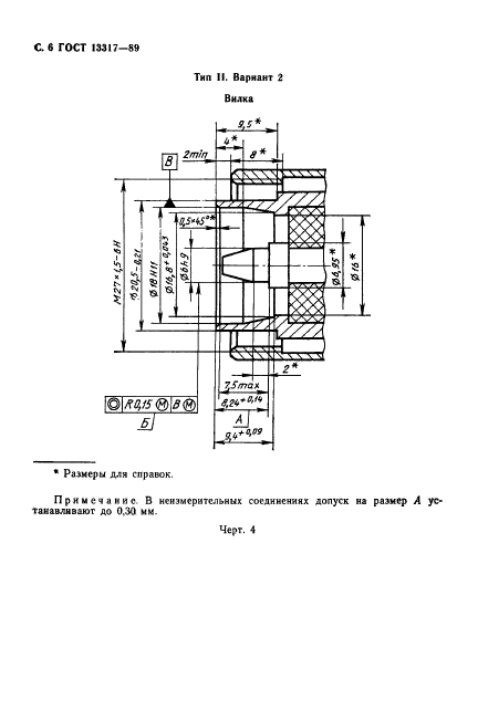
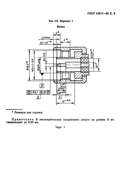
Область применения:Настоящий стандарт устанавливает размеры элементов соединений коаксиальных волноводов с воздушным заполнением сечением 2,4/1,04; 3,5/1,52; 7/3,04; 16/6,95и 16/4,6;элементов соединений фланцев прямоугольных волноводов сечением 0,7х0,35; 1,1х0,55; 1,6х0,8; 2,4х1,2; 3,6х1,8; 5,2х2,6; 7,2х3,4; 11х 5,5; 13х6,5; 16х8; 17х8; 19х9,5; 23х10; 28,5х12,6; 35х15; 40х20; 48х24; 58х25 72х34; 90х45 и 110х55 мм и фланцев металло-диэлектрического волновода сечением 10х10 мм радиоизмерительных приборов общего применения, верхние рабочие частоты которых находятся в пределах 0,3-405,41 ГГц предназначенных для нужд народного хозяйства и экспорта.Стандарт не устанавливает конструкции элементов соединения и не распространяется на внутриблочные и межблочные соединения
Расположен в:Государственные стандарты Общероссийский классификатор стандартов Телекоммуникации.аудио-и видеотехника Специальное измерительное оборудование для систем телекоммуникаций Классификатор государственных стандартов Измерительные приборы. Средства автоматизации и вычислительной техники Электронные измерительные приборы и устройства Классификация, номенклатура и общие нормы Окп Средства проводной связи и аппаратура радиосвязи оконечная и промежуточная Приборы радиоизмерительные
ГОСТ 13317-89ГОСТ 13317-89ГОСТ 13317-89ГОСТ 13317-89ГОСТ 13317-89ГОСТ 13317-89ГОСТ 13317-89ГОСТ 13317-89ГОСТ 13317-89ГОСТ 13317-89ГОСТ 13317-89ГОСТ 13317-89ГОСТ 13317-89ГОСТ 13317-89ГОСТ 13317-89ГОСТ 13317-89ГОСТ 13317-89ГОСТ 13317-89ГОСТ 13317-89ГОСТ 13317-89ГОСТ 13317-89ГОСТ 13317-89ГОСТ 13317-89ГОСТ 13317-89ГОСТ 13317-89ГОСТ 13317-89ГОСТ 13317-89ГОСТ 13317-89ГОСТ 13317-89ГОСТ 13317-89ГОСТ 13317-89ГОСТ 13317-89ГОСТ 13317-89ГОСТ 13317-89ГОСТ 13317-89ГОСТ 13317-89ГОСТ 13317-89ГОСТ 13317-89ГОСТ 13317-89ГОСТ 13317-89ГОСТ 13317-89ГОСТ 13317-89ГОСТ 13317-89ГОСТ 13317-89ГОСТ 13317-89

© 2013 Ёшкин Кот :-) Карта сайта