| Обозначение: |  ГОСТ Р 50267.2-92 |
| Статус: | отменён |
| Название рус.: | Изделия медицинские электрические. Часть 2. Частные требования безопасности к высокочастотным электрохирургическим аппаратам |
| Название англ.: | Medical electrical equipment. Part 2. Particular requirements for the safety of high frequency surgical equipment |
| Дата актуализации текста: | 06.04.2015 |
| Дата актуализации описания: | 01.07.2023 |
| Дата издания: | 28.12.1992 |
| Дата введения: | 01.07.1993 |
| Дата окончания срока действия: | 01.11.2013 |
| Код ОКП: | 940000 |
| Содержит требования: | IEC 60601-2-2(1991) |
| На территории РФ пользоваться: | ГОСТ Р МЭК 60601-2-2-2013 |
| Нормативные ссылки: | ГОСТ 23450-79; ГОСТ Р 50267.0-92;Норма 5Б-80 |
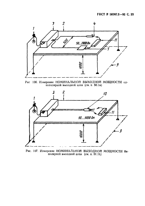
| Область применения: | Настоящий стандарт устанавливает требования безопасности к ВЫСОКОЧАСТОТНЫМ ЭЛЕКТРОХИРУРГИЧЕСКИМ АППАРАТАМ, используемым в медицинской практике, которые далее называются "АППАРАТЫ". На АППАРАТЫ с номинальной мощностью, не привышающей 50 Вт (например, для микрокоагуляции или при использовании в стоматалогии и офтальмологии), не распространяется ряд требований настоящего стандарта. Эти исключения отмечены в соответствующих требованиях |
| Список изменений: | №0 от 07.04.1993 (рег. 06.04.1993) «Утратил силу в РФ» №0 от 01.11.2013 (рег. 28.10.2013) «Текстовое изменение; Изменено заглавие» №1 от 01.01.1997 (рег. 10.04.1996) «Срок действия продлен» |
| Приложение №1: | Изменение №1 к ГОСТ Р 50267.2-92 |
|
| Расположен в: |
|