| Обозначение: |  ГОСТ Р 50039-92 |
| Статус: | действующий |
| Название рус.: | Машины текстильные и оборудование вспомогательное. Патроны конические для намотки пряжи (крестовая намотка). Половина угла конуса 4 град. угл. 20'. Размеры и методы контроля |
| Название англ.: | Textile machinery and accessories. Cones for yarn winding (cross wound). Half angle of the cone 4 degrees 20'. Dimensions and checking methods |
| Дата актуализации текста: | 06.04.2015 |
| Дата актуализации описания: | 01.07.2023 |
| Дата издания: | 01.09.1992 |
| Дата введения: | 01.07.1993 |
| Код ОКП: | 967140 |
| Содержит требования: | ISO 111:1978 |
| Нормативные ссылки: | ГОСТ 25346-89 |
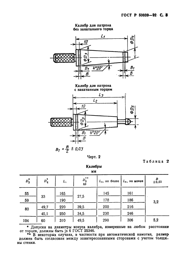
| Область применения: | Настоящий стандарт устанавливает размеры и допуски конических патронов для намотки пряжи (крестовая намотка), имеющих половину угла конуса 4 град. 20', а также размеры и допуски калибров для проверки этих патронов |
|
| Расположен в: |
|